Anwendung des § 1 Absatz 2a GrEStG
Inhaltsverzeichnis
Tabelle in neuem Fenster öffnen
1 |
Allgemeines |
2 |
Personengesellschaft |
3 | Vom
Tatbestand erfasste Grundstücke |
4 | Anteil am
Vermögen der Personengesellschaft |
5 | Für
§ 1
Absatz 2a GrEStG relevanter
Gesellschafterwechsel |
5.1 |
Gesellschafterwechsel |
5.1.1 |
Unmittelbarer Gesellschafterwechsel |
5.1.2 |
Mittelbarer Gesellschafterwechsel |
5.2 | Alt- und
Neugesellschafter |
5.2.1 |
Altgesellschafter |
5.2.1.1 |
Unmittelbar beteiligter Altgesellschafter
|
5.2.1.2 | Mittelbar
beteiligter Altgesellschafter |
5.2.2 |
Neugesellschafter |
5.2.2.1 |
Unmittelbar beteiligter Neugesellschafter
|
5.2.2.2 | Mittelbar
beteiligter Neugesellschafter |
5.2.3 |
Besonderheiten bei Kapitalgesellschaften
|
5.2.3.1 | Alt- oder
Neugesellschaftereigenschaft der Kapitalgesellschaft in Bezug auf die
grundbesitzende Personengesellschaft |
5.2.3.2 | Alt- oder
Neugesellschaftereigenschaft der Gesellschafter der Kapitalgesellschaft in
Bezug auf die Kapitalgesellschaft |
5.2.4 |
Besonderheiten bei Treuhandverhältnissen
|
5.2.5 |
Besonderheiten bei der identitätswahrenden formwechselnden
Umwandlung |
5.2.5.1 |
Formwechselnde Umwandlung der grundbesitzenden
Gesellschaft |
5.2.5.2 |
Formwechselnde Umwandlung einer unmittelbar oder mittelbar
beteiligten Gesellschaft |
5.2.5.3 |
Gesellschaften eines Mitgliedstaates der Europäischen
Union |
5.3 | Ermittlung
des Vomhundertsatzes |
6 |
Fünfjahreszeitraum |
7 | Verhältnis
zu
§ 1
Absatz 3 und 3a GrEStG |
8 | Verhältnis
zu Befreiungsvorschriften |
9 |
Grundstückserwerbe von einem Gesellschafter (§§ 5,
6 GrEStG)
und verbleibende Altgesellschafter (§ 6 Absatz 3 GrEStG)
|
10 | Verhältnis
zu
§ 16 GrEStG |
11 |
Bemessungsgrundlage |
12 |
Steuerschuldner und Bekanntgabe des
Steuerbescheids |
13 |
Anzeigepflicht |
14 | Grundsätze
des
,
BStBl 2013 II S. 833
|
15 |
Übergangsregelung für sukzessive Gesellschafterwechsel über
den
|
16 | Zeitlicher
Anwendungsbereich |
1 Allgemeines
Bei einer Personengesellschaft, zu deren Vermögen ein inländisches Grundstück gehört, gilt nach § 1 Absatz 2a Satz 1 GrEStG die unmittelbare oder mittelbare Änderung des Gesellschafterbestandes dergestalt, dass innerhalb von fünf Jahren mindestens 95 % der Anteile am Gesellschaftsvermögen auf neue Gesellschafter übergehen, als ein auf die Übereignung eines Grundstücks auf eine neue Personengesellschaft gerichtetes Rechtsgeschäft. Die Vorschrift fingiert die Übereignung eines zum Vermögen einer Personengesellschaft gehörenden Grundstücks auf eine fiktiv „neue” Personengesellschaft. Zivilrechtlich liegt kein Rechtsträgerwechsel vor.
2 Personengesellschaft
Personengesellschaften im Sinne des § 1 Absatz 2a Satz 1 GrEStG sind insbesondere die Gesellschaft bürgerlichen Rechts, die offene Handelsgesellschaft, die Kommanditgesellschaft (einschließlich der GmbH & Co. KG) und die Partnerschaftsgesellschaft. Ausländische Personengesellschaften, deren rechtliche Struktur den inländischen Personengesellschaften entspricht, werden von der Vorschrift erfasst.
3 Vom Tatbestand erfasste Grundstücke
Die Vorschrift des § 1 Absatz 2a Satz 1 GrEStG ist grundstücksbezogen. Sie erfasst diejenigen Grundstücke, und zwar jedes für sich, die während des Zeitraums, in dem sich der Gesellschafterbestand ändert, durchgängig zum Vermögen der Personengesellschaft gehören. Zum Fünfjahreszeitraum vgl. Tz. 6.
Zum Vermögen einer Personengesellschaft gehören die Grundstücke, die der Gesellschaft grunderwerbsteuerrechtlich zuzurechnen sind. Es kommt nicht auf das zivilrechtliche Eigentum oder die bewertungsrechtliche Zurechnung an.
Ein Grundstück gehört der Gesellschaft, wenn es ihr im Zeitpunkt der Entstehung der Steuerschuld aufgrund eines unter § 1 Absatz 1, 2, 3 oder 3a GrEStG fallenden Erwerbsvorgangs grunderwerbsteuerrechtlich zuzurechnen ist.
Ein Grundstück gehört nicht mehr zum Vermögen der Gesellschaft, wenn es zwar noch in ihrem Eigentum steht bzw. ihr bewertungsrechtlich zuzurechnen ist, es aber vor Entstehung der Steuerschuld Gegenstand eines Veräußerungsvorgangs im Sinne des § 1 Absatz 1, 3 oder 3a GrEStG war. Grundstücke im Eigentum der Personengesellschaft, an denen sie einem anderen die Verwertungsbefugnis im Sinne des § 1 Absatz 2 GrEStG eingeräumt hat, gehören zu ihrem Vermögen.
4 Anteil am Vermögen der Personengesellschaft
Die von der Gesellschaft erworbenen Grundstücke sind gemeinschaftliches Vermögen der Gesellschafter (gesamthänderische Mitberechtigung).
Unter Anteil am Vermögen ist
die sachenrechtliche Mitberechtigung des Gesellschafters, die sich aus der Stellung als Gesamthänder ableitet, und
die vermögensmäßige Beteiligung an dem Gesellschaftsgrundstück
zu verstehen. Maßgebend ist die gesellschaftsvertraglich vereinbarte Beteiligung am Vermögen (fest oder variabel), hilfsweise die §§ 722, 734 BGB bzw. §§ 120 bis 122 HGB. Es ist auf den Zeitpunkt der Verwirklichung des Erwerbsvorgangs im Sinne des § 23 GrEStG abzustellen.
5 Für § 1 Absatz 2a GrEStG relevanter Gesellschafterwechsel
Ein steuerbarer Gesellschafterwechsel im Sinne des § 1 Absatz 2a GrEStG liegt vor, wenn es sich um einen Gesellschafterwechsel dem Grunde nach handelt (Tz. 5.1), der durch einen Neugesellschafter ausgelöst wird (Tz. 5.2), und sich dadurch das Verhältnis der Altgesellschafter zu den Neugesellschaftern zu Lasten der Altgesellschafter verändert (Tz. 5.3).
5.1 Gesellschafterwechsel
Es sind unmittelbare und mittelbare Gesellschafterwechsel zu berücksichtigen.
5.1.1 Unmittelbarer Gesellschafterwechsel
Eine unmittelbare Änderung des Gesellschafterbestandes einer grundbesitzenden Personengesellschaft liegt vor, wenn ein Mitgliedschaftsrecht an der Gesellschaft zivilrechtlich wirksam auf ein anderes oder neues Mitglied der Personengesellschaft übergeht (, BStBl 2018 II S. 783).
5.1.2 Mittelbarer Gesellschafterwechsel
Da es zivilrechtlich keine mittelbare Änderung eines Gesellschafterbestandes gibt und bei der mittelbaren Änderung des Gesellschafterbestandes zivilrechtlich kein Anteil an der grundbesitzenden Gesellschaft auf einen Neugesellschafter übergeht, scheidet eine Anknüpfung an das Zivilrecht aus. Aus grunderwerbsteuerrechtlicher Sicht ist maßgeblich, wer hinter dem an der grundbesitzenden Personengesellschaft unmittelbar beteiligten Gesellschafter steht.
Eine mittelbare Änderung des Gesellschafterbestandes der grundbesitzenden Personengesellschaft liegt vor, wenn
ein Mitgliedschaftsrecht an einer Personengesellschaft, die unmittelbar oder mittelbar über eine oder mehrere Personengesellschaften an der grundbesitzenden Personengesellschaft beteiligt ist, zivilrechtlich wirksam auf ein anderes oder neues Mitglied übergeht,
eine unmittelbar oder mittelbar über eine oder mehrere Personengesellschaften an der grundbesitzenden Personengesellschaft beteiligte Kapitalgesellschaft nach § 1 Absatz 2a Satz 4 GrEStG fiktiv neue Gesellschafterin der grundbesitzenden Personengesellschaft wird oder
sie sich aus schuldrechtlichen Bindungen der an der Personengesellschaft unmittelbar beteiligten Gesellschafter ergibt (, BStBl 2018 II S. 783).
Liegen lediglich schuldrechtliche Bindungen vor, kann für die nach wirtschaftlichen Gesichtspunkten vorzunehmende Zurechnungsentscheidung unter Beachtung grunderwerbsteuerrechtlicher Besonderheiten auf die Grundsätze des § 39 Absatz 2 Nummer 1 AO zurückgegriffen werden (, BStBl 2016 II S. 57, und , BStBl 2018 II S. 783). Dieser Rückgriff erlaubt eine entsprechende Anwendung der Grundsätze des § 1 Absatz 2 GrEStG bei der Zurechnung von Anteilen an grundbesitzenden Personengesellschaften. Entscheidend ist danach, dass über die schuldrechtliche Vereinbarung einem anderen als dem an der grundbesitzenden Personengesellschaft unmittelbar Beteiligten eine Wertteilhabe an den Gesellschaftsgrundstücken vermittelt wird. Dazu müssen folgende Kriterien erfüllt sein:
Der mittelbar Beteiligte hat aufgrund eines Rechtsgeschäfts bereits eine rechtlich geschützte, auf den Erwerb des Rechts gerichtete Position erworben, die ihm gegen seinen Willen nicht mehr entzogen werden kann (z. B. Herausgabeanspruch aufgrund einer Kaufoption oder eines Treuhandverhältnisses).
Die mit dem Anteil verbundenen wesentlichen Rechte (z. B. Innehaben des Gewinnstammrechts, Befugnis zur Ausübung der Stimmrechte, Widerspruchs- und Kontrollrechte) sind auf den mittelbar Beteiligten übergegangen oder im Sinne des mittelbar Beteiligten auszuüben.
Das Risiko einer Wertminderung und die Chance einer Wertsteigerung (z. B. Beteiligung am Gesellschaftsvermögen, an einem etwaigen Auseinandersetzungsguthaben sowie dem Liquidationserlös) sind auf den mittelbar Beteiligten übergegangen.
Entscheidend ist das Gesamtbild der tatsächlichen Verhältnisse im jeweiligen Einzelfall. Bei dieser Gesamtbildbetrachtung kann eine vom Zivilrecht abweichende Zurechnung des Anteils auch anzunehmen sein, wenn die vorstehenden Kriterien unterschiedlich stark ausgeprägt sind.
Die bloße Einräumung einer Vollmacht zur Ausübung der Rechte aus einem Gesellschaftsanteil sowie zur Veräußerung und Abtretung dieses Gesellschaftsanteils reicht demgegenüber für die Annahme einer mittelbaren Änderung des Gesellschafterbestandes nicht aus. Durch eine derartige Vollmacht sind die wesentlichen Rechte des Gesellschafters (z. B. Stimmrechte und Gewinnstammrecht) nicht auf den Bevollmächtigten übergegangen (, BStBl 2018 II S. 786).
5.2 Alt- und Neugesellschafter
Es muss zwischen Alt- und Neugesellschaftern unterschieden werden.
5.2.1 Altgesellschafter
5.2.1.1 Unmittelbar beteiligter Altgesellschafter
Unmittelbar an der grundbesitzenden Personengesellschaft beteiligter Altgesellschafter ist unabhängig von seiner Rechtsform, wer
Gründungsgesellschafter ist,
vor dem Beginn des Fünfjahreszeitraums des § 1 Absatz 2a Satz 1 GrEStG beteiligt war,
im Zeitpunkt des Erwerbs des jeweiligen Grundstücks beteiligt war oder
bei einer früheren Verwirklichung des Tatbestands nach § 1 Absatz 2a GrEStG beteiligt war.
Ein unmittelbar beteiligter Altgesellschafter verliert die Eigenschaft als Altgesellschafter mit Aufgabe seiner Gesellschafterstellung. Erwirbt der ausgeschiedene (Alt-)Gesellschafter erneut einen Anteil an der Personengesellschaft, ist er Neugesellschafter im Sinne des § 1 Absatz 2a Satz 1 GrEStG. Dies gilt auch dann, wenn das Ausscheiden aus der Personengesellschaft und der Wiedereintritt innerhalb des Fünfjahreszeitraums des § 1 Absatz 2a Satz 1 GrEStG erfolgen (, BStBl 2013 II S. 963).
5.2.1.2 Mittelbar beteiligter Altgesellschafter
Mittelbar an der grundbesitzenden Personengesellschaft beteiligter Altgesellschafter ist unabhängig von seiner Rechtsform, wer
im Zeitpunkt der Gründung der grundbesitzenden Personengesellschaft über eine oder mehrere Personengesellschaften beteiligt war,
vor dem Beginn des Fünfjahreszeitraums des § 1 Absatz 2a Satz 1 GrEStG über eine oder mehrere Personengesellschaften beteiligt war,
im Zeitpunkt des Erwerbs des jeweiligen Grundstücks über eine oder mehrere Personengesellschaften beteiligt war oder
bei einer früheren Verwirklichung des Tatbestands nach § 1 Absatz 2a Satz 1 GrEStG über eine oder mehrere Personengesellschaften beteiligt war.
Eine Gesellschaftsstruktur, bei der eine Personengesellschaft an der grundbesitzenden Personengesellschaft beteiligt ist, wird als doppelstöckige Personengesellschaft bezeichnet. Ist oberhalb der beteiligten Personengesellschaft mindestens eine weitere Personengesellschaft beteiligt, liegt eine mehrstöckige Personengesellschaft vor.
Ein mittelbar beteiligter Altgesellschafter verliert die Eigenschaft als Altgesellschafter mit Aufgabe seiner Gesellschafterstellung. Erwirbt der ausgeschiedene (Alt-)Gesellschafter erneut einen Anteil an der Personengesellschaft, ist er Neugesellschafter im Sinne des § 1 Absatz 2a Satz 1 GrEStG. Dies gilt auch dann, wenn das Ausscheiden aus der Personengesellschaft und der Wiedereintritt innerhalb des Fünfjahreszeitraums des § 1 Absatz 2a Satz 1 GrEStG erfolgen (, BStBl 2013 II S. 963).
Zusammenfassend vgl. Beispiele 5.3.1 und 5.3.2.
5.2.2 Neugesellschafter
5.2.2.1 Unmittelbar beteiligter Neugesellschafter
Unmittelbar an der grundbesitzenden Personengesellschaft beteiligter Neugesellschafter ist unabhängig von seiner Rechtsform, wer mit dem Erwerb der Gesellschafterstellung in die Mitberechtigung am Grundstück der Personengesellschaft
durch Beitritt,
infolge (Teil-)Abtretung eines Anteils am Gesellschaftsvermögen oder
aufgrund von Umwandlungsvorgängen mit Ausnahme der identitätswahrenden formwechselnden Umwandlung (Tz. 5.2.5)
einrückt.
5.2.2.2 Mittelbar beteiligter Neugesellschafter
Mittelbar an der grundbesitzenden Personengesellschaft beteiligter Neugesellschafter ist unabhängig von seiner Rechtsform, wer durch
Eintritt,
Abtretung eines Mitgliedschaftsrechts oder
einen Vorgang nach dem Umwandlungsgesetz
einer Personengesellschaft beitritt, die unmittelbar oder mittelbar über eine oder mehrere Personengesellschaften am Vermögen der grundbesitzenden Personengesellschaft beteiligt ist, und dadurch in die Mitberechtigung am Grundstück einrückt.
5.2.3 Besonderheiten bei Kapitalgesellschaften
5.2.3.1 Alt- oder Neugesellschaftereigenschaft der Kapitalgesellschaft in Bezug auf die grundbesitzende Personengesellschaft
Nur Kapitalgesellschaften selbst können unmittelbare oder mittelbare Alt- oder Neugesellschafter in Bezug auf die grundbesitzende Personengesellschaft sein, deren Gesellschafter jedoch nicht.
Eine als Altgesellschafterin geltende unmittelbar oder mittelbar beteiligte Kapitalgesellschaft wird nach § 1 Absatz 2a Satz 4 GrEStG in vollem Umfang zur fiktiven Neugesellschafterin, wenn sich die Beteiligungsverhältnisse an ihr unmittelbar oder mittelbar oder teils unmittelbar, teils mittelbar zu mindestens 95 % ändern. Dies gilt unabhängig davon, ob die Änderung der Beteiligungsverhältnisse bei der Kapitalgesellschaft den Tatbestand des § 1 Absatz 3 GrEStG erfüllen würde.
Bei mehrstufigen mittelbaren Beteiligungen ist die Prüfung, ob die 95 %-Grenze erreicht ist, für jede Beteiligungsebene gesondert vorzunehmen. Ist die 95 %-Grenze erreicht, ist die mittelbare Beteiligung in voller Höhe zu berücksichtigen (nicht nur in Höhe von 95 %; vgl. Beispiel 5.3.3).
Der Fünfjahreszeitraum gilt nicht. Es gibt keine zeitliche Begrenzung.
Die Eigenschaft als Altgesellschafterin der unmittelbar oder mittelbar beteiligten Kapitalgesellschaft bleibt erhalten, wenn sich lediglich die Kette der an ihr beteiligten Kapitalgesellschaften verkürzt. Eine solche Beteiligungskette liegt vor, soweit Kapitalgesellschaften auf jeder Stufe über eine Beteiligung von mindestens 95 % miteinander verbunden sind. Das Gleiche gilt bei Beteiligungsketten, in denen sowohl Kapital- als auch Personengesellschaften beteiligt sind. Bei Personengesellschaften in der Kette ist zu beachten, dass die 95 %ige Beteiligung auf jeder Stufe bei der Durchrechnung noch vorhanden ist. Bei der Verkürzung der Kette muss die der grundbesitzenden Personengesellschaft am nächsten stehende Kapitalgesellschaft erhalten bleiben (vgl. Beispiel 5.3.6).
5.2.3.2 Alt- oder Neugesellschaftereigenschaft der Gesellschafter der Kapitalgesellschaft in Bezug auf die Kapitalgesellschaft
Die Gesellschafter der Kapitalgesellschaft sind nur in Bezug auf die Kapitalgesellschaft, an der sie unmittelbar beteiligt sind, Alt- oder Neugesellschafter, nicht jedoch in Bezug auf die grundbesitzende Personengesellschaft.
Neugesellschafter der Kapitalgesellschaft ist, wer Anteile an der Kapitalgesellschaft erwirbt.
Altgesellschafter der Kapitalgesellschaft ist, wer im Zeitpunkt
der Gründung der grundbesitzenden Personengesellschaft Gesellschafter der Kapitalgesellschaft ist, wenn die Kapitalgesellschaft Gründungsgesellschafterin ist,
des Erwerbs der Beteiligung am Vermögen der grundbesitzenden Personengesellschaft durch die Kapitalgesellschaft an der Kapitalgesellschaft beteiligt ist,
des Grundstückserwerbs der Personengesellschaft an der Kapitalgesellschaft beteiligt ist oder
der nach § 1 Absatz 2a Satz 4 GrEStG erfolgenden Umqualifizierung der Kapitalgesellschaft in eine Neugesellschafterin der grundbesitzenden Personengesellschaft an der Kapitalgesellschaft beteiligt ist.
5.2.4 Besonderheiten bei Treuhandverhältnissen
Neugesellschafter ist:
derjenige, der aufgrund Vereinbarungstreuhand mit einem Gesellschafter der grundbesitzenden Personengesellschaft nach deren Gründung bzw. nach einem Grundstückserwerb durch diese oder nach einer früheren Verwirklichung des Tatbestands des § 1 Absatz 2a GrEStG dessen Treugeber wird,
der neue Treugeber eines Gesellschafters nach Treugeberwechsel,
der Treugeber, auf den die treuhänderisch gehaltenen Anteile vom Treuhänder übertragen oder rückübertragen werden (zur anteiligen Steuerbefreiung in Höhe der rückübertragenen Anteile auf den Treugeber vgl. § 3 Nummer 8 GrEStG analog) oder
der neue Treuhänder beim Wechsel des Treuhändergesellschafters.
5.2.5 Besonderheiten bei der identitätswahrenden formwechselnden Umwandlung
Die identitätswahrende formwechselnde Umwandlung einer grundbesitzenden Personengesellschaft ist nicht steuerbar. Das Gleiche gilt bei einer identitätswahrenden formwechselnden Umwandlung einer an der grundbesitzenden Personengesellschaft unmittelbar oder mittelbar beteiligten Personen- oder Kapitalgesellschaft.
5.2.5.1 Formwechselnde Umwandlung der grundbesitzenden Gesellschaft
Wird eine grundbesitzende Personengesellschaft in eine andere Personengesellschaft formwechselnd umgewandelt, führen die an ihr beteiligten Gesellschafter ihre bisherige Eigenschaft als Alt- oder Neugesellschafter fort.
Wird eine grundbesitzende Kapitalgesellschaft in eine Personengesellschaft formwechselnd umgewandelt, sind die an ihr beteiligten Gesellschafter Altgesellschafter, da sie im Zeitpunkt der Eröffnung des Tatbestandes des § 1 Absatz 2a GrEStG beteiligt sind.
5.2.5.2 Formwechselnde Umwandlung einer unmittelbar oder mittelbar beteiligten Gesellschaft
Wird eine unmittelbar oder mittelbar über eine oder mehrere Personengesellschaften am Vermögen der grundbesitzenden Personengesellschaft beteiligte Personengesellschaft in eine andere Personengesellschaft formwechselnd umgewandelt, führt sie ihre bisherige Eigenschaft als Alt- oder Neugesellschafterin in Bezug auf die grundbesitzende Personengesellschaft fort. Gleiches gilt für die an ihr beteiligten Gesellschafter.
Wird eine unmittelbar oder mittelbar über eine oder mehrere Personengesellschaften am Vermögen der grundbesitzenden Personengesellschaft beteiligte Kapitalgesellschaft in eine andere Kapitalgesellschaft formwechselnd umgewandelt, führt sie ihre bisherige Eigenschaft als Alt- oder Neugesellschafterin in Bezug auf die grundbesitzende Personengesellschaft fort. Die Gesellschafter der formwechselnd umgewandelten Kapitalgesellschaft führen ihre bisherige Eigenschaft als Alt- oder Neugesellschafter in Bezug auf die Kapitalgesellschaft fort.
Wird eine unmittelbar oder mittelbar über eine oder mehrere Personengesellschaften am Vermögen der grundbesitzenden Personengesellschaft beteiligte Kapitalgesellschaft in eine Personengesellschaft formwechselnd umgewandelt, führt sie ihre bisherige Eigenschaft als Alt- oder Neugesellschafterin fort. Die an der umgewandelten Gesellschaft beteiligten Gesellschafter werden durch die formwechselnde Umwandlung Neugesellschafter in Bezug auf die grundbesitzende Personengesellschaft, da sie erstmals eine gesamthänderische Mitberechtigung an deren Vermögen erlangen. Die im Zeitpunkt der formwechselnden Umwandlung vorhandenen Beteiligungen der Gesellschafter an der formgewechselten Gesellschaft werden nicht in die Berechnung des Quantums des § 1 Absatz 2a GrEStG einbezogen, da es aufgrund der umwandlungsrechtlich geregelten Besonderheiten für diese Beteiligungen an dem Tatbestandsmerkmal „Übergang von Anteilen” fehlt.
Wird eine unmittelbar oder mittelbar über eine oder mehrere Personengesellschaften am Vermögen der grundbesitzenden Personengesellschaft beteiligte Personengesellschaft in eine Kapitalgesellschaft formwechselnd umgewandelt, führt sie ihre bisherige Eigenschaft als Alt- oder Neugesellschafterin fort. Die an der umgewandelten Gesellschaft beteiligten Gesellschafter verlieren durch die formwechselnde Umwandlung ihre Eigenschaft als Alt- oder Neugesellschafter in Bezug auf die grundbesitzende Personengesellschaft. Sie werden Altgesellschafter in Bezug auf die Kapitalgesellschaft.
Am Vermögen der grundbesitzenden A-OHG sind A zu 90 % und die B-GmbH zu 10 % beteiligt. Die B-GmbH ist in Bezug auf die A-OHG Altgesellschafterin. An der B-GmbH sind B und C in Höhe von jeweils 50 % beteiligt.
Im Jahr 01 wird die B-GmbH durch heterogenen Formwechsel in die B-OHG identitätswahrend umgewandelt.
Im Jahr 02 erwerben B von A 89,9 % und C von A 0,1 % der Anteile am Vermögen der A-OHG.
Im Jahr 03 erwirbt D 5 % der Anteile am Vermögen der A-OHG von der B-OHG.

Die formwechselnde Umwandlung der B-GmbH in die B-OHG ist nicht steuerbar. Die B-OHG führt die Eigenschaft als Altgesellschafterin fort. Die Gesellschafter B und C werden durch die formwechselnde Umwandlung Neugesellschafter in Bezug auf die A-OHG, da sie erstmals eine gesamthänderische Mitberechtigung an dieser erlangen. Aufgrund der umwandlungsrechtlich geregelten Besonderheiten gehen keine Anteile am Gesellschaftsvermögen über.

Die Übertragung der Beteiligung des A auf die Neugesellschafter B und C führt zu einem unmittelbaren Gesellschafterwechsel in Höhe von 90 % (89,9 % + 0,1 %) der Anteile am Vermögen der A-OHG. Der Tatbestand des § 1 Absatz 2a GrEStG ist nicht verwirklicht.

Die Übertragung der Beteiligung der B-OHG auf den Neugesellschafter D führt zu einem unmittelbaren Gesellschafterwechsel in Höhe von 5 % der Anteile am Vermögen der A-OHG. Der Tatbestand des § 1 Absatz 2a GrEStG ist verwirklicht, da innerhalb von fünf Jahren mindestens 95 % der Anteile am Vermögen der A-OHG auf Neugesellschafter übergegangen sind (02: 90 % und 03: 5 %).
5.2.5.3 Gesellschaften eines Mitgliedstaates der Europäischen Union
Wird eine inländische Gesellschaft in eine Gesellschaft eines Mitgliedstaates der Europäischen Union oder umgekehrt formwechselnd umgewandelt, unterliegt dieser Rechtsvorgang mangels eines Rechtsträgerwechsels nicht der Grunderwerbsteuer und es gelten die oben genannten Grundsätze entsprechend. Voraussetzung ist, dass die rechtliche Struktur dieser Gesellschaft derjenigen einer inländischen Gesellschaft und die Regelung über den Formwechsel inhaltlich der Umwandlung gemäß § 1 Absatz 1 Nummer 4 UmwG entsprechen. Dasselbe gilt, wenn eine Gesellschaft eines Mitgliedstaates der Europäischen Union in eine andere Gesellschaft eines Mitgliedstaates der Europäischen Union formwechselnd umgewandelt wird.
5.3 Ermittlung des Vomhundertsatzes
Zur Ermittlung des Vomhundertsatzes im Sinne des § 1 Absatz 2a Satz 1 GrEStG ist auf das Verhältnis der Beteiligung der Neugesellschafter zu der fortbestehenden Beteiligung von Altgesellschaftern nach dem Gesellschafterwechsel abzustellen. Maßgebend ist hierfür der Anteil des einzelnen Gesellschafters am Gesellschaftsvermögen nach dem Gesellschafterwechsel. Für die Höhe des Anteils kommt es auf die Verhältnisse im Zeitpunkt der Wirkung der schuldrechtlichen (gesellschaftsrechtlichen) Vereinbarungen an. Die Wirkung tritt frühestens mit dem Vertragsabschluss ein. Der Zeitpunkt der Leistung der Einlagen ist unerheblich.
Stockt ein Neugesellschafter seine Beteiligung durch den Erwerb weiterer Anteile am Gesellschaftsvermögen nach dem erstmaligen Erwerb des Mitgliedschaftsrecht auf, werden sowohl der erstmalige Erwerb als auch die Hinzuerwerbe bei der Berechnung der Quote berücksichtigt (, BStBl 2017 II S. 966). Veränderungen der Vermögensbeteiligung von Neugesellschaftern durch Kapitalerhöhung bei deren Eintritt führen zum Übergang von Anteilen am Gesellschaftsvermögen und sind bei der Ermittlung des Vomhundertsatzes zu berücksichtigen. Gleiches gilt bei bloßen Kapitaländerungen zugunsten der Neugesellschafter im Verhältnis zu den Altgesellschaftern (Beispiel 5.3.7).
§ 1 Absatz 2a Satz 1 GrEStG erfasst keine Änderungen der Beteiligung am Gesellschaftsvermögen der Altgesellschafter im Verhältnis zueinander. Veränderungen der Vermögensbeteiligung zwischen Neugesellschaftern werden bei der Ermittlung des Vomhundertsatzes nicht erneut berücksichtigt. Gehen Anteile von Todes wegen auf Neugesellschafter über, bleibt der Erwerb dieser Anteile bei der Ermittlung des Vomhundertsatzes im Sinne des § 1 Absatz 2a Satz 1 GrEStG außer Ansatz. Gesellschafterwechsel, die sich vor dem Grundstückserwerb vollziehen, sind zur Tatbestandserfüllung unbeachtlich.
Bei Gesellschaftsstrukturen mit Personen- und Kapitalgesellschaften ist durch Personengesellschaften durchzurechnen und auf der Ebene jeder Kapitalgesellschaft die 95 %-Grenze zu prüfen.
Änderungen im Gesellschafterbestand der an der grundbesitzenden Personengesellschaft beteiligten Personengesellschaften werden durch Multiplikation der Vomhundertsätze der Anteile am Gesellschaftsvermögen anteilig berücksichtigt.
Bei Beteiligungen von Kapitalgesellschaften an einer grundbesitzenden Personengesellschaft, ist auf das erforderliche Quantum von 95 % der Anteile an der Kapitalgesellschaft abzustellen. Gehen bei einer Kapitalgesellschaft mindestens 95 % der Anteile auf Neugesellschafter in Bezug auf die Kapitalgesellschaft über, so gilt diese nach § 1 Absatz 2a Satz 4 GrEStG als Neugesellschafterin der grundbesitzenden Personengesellschaft. Die Beteiligung der Kapitalgesellschaft ist in voller Höhe bei der Ermittlung des Vomhundertsatzes im Sinne des § 1 Absatz 2a Satz 1 GrEStG zu berücksichtigen (nicht nur in Höhe von 95 %; vgl. Beispiel 5.3.3). Bei mehrstufigen Beteiligungen gelten diese Grundsätze nach § 1 Absatz 2a Satz 5 GrEStG auf der Ebene jeder Kapitalgesellschaft entsprechend.
Führen Änderungen im Gesellschafterbestand mittelbar beteiligter Personengesellschaften bei einer nachgeordneten Kapitalgesellschaft nicht zu einem unmittelbaren oder mittelbaren oder teils unmittelbaren, teils mittelbaren Übergang von mindestens 95 % ihrer Anteile am Kapital, gilt die Kapitalgesellschaft nicht als neu im Sinne des § 1 Absatz 2a Satz 4 und 5 GrEStG.
5.3.1 Grundfall
In nachstehender Ausgangsstruktur wird die Beteiligung der A-GmbH am Vermögen der grundbesitzenden B-KG an die B-GmbH übertragen. Zeitgleich veräußert X 90 % seiner Beteiligung am Vermögen der A-KG an Y.

Der Tatbestand des § 1 Absatz 2a GrEStG ist erfüllt. Innerhalb von fünf Jahren gehen mindestens 95 % der Anteile am Gesellschaftsvermögen (50 % unmittelbar und 90 % x 50 % = 45 % mittelbar) auf Neugesellschafter über.
5.3.2 Personengesellschaft als mittelbar beteiligte Altgesellschafterin
Am Vermögen der grundbesitzenden KG sind A zu 5 % und die Z-GmbH & Co. KG zu 95 % beteiligt. Am Vermögen der Z-GmbH & Co. KG sind die AB-OHG zu 100 % und die GmbH zu 0 % beteiligt. Am Vermögen der AB-OHG sind A und B zu jeweils 50 % beteiligt. Diese Ausgangsstruktur besteht seit mehr als fünf Jahren.
Die AB-OHG verkauft ihre Beteiligung an die AC-GbR, an der A und C zu jeweils 50 % beteiligt sind.

Die Anteilsübertragung auf die AC-GbR erfüllt den Tatbestand des § 1 Absatz 2a Satz 1 GrEStG, da innerhalb von fünf Jahren mindestens 95 % der Anteile am Vermögen der KG (100 % x 95 %) auf Neugesellschafter der KG übergegangen sind. Die mittelbar beteiligte AC-GbR ist Neugesellschafterin in Bezug auf die grundbesitzende KG. Die Steuer wird nach § 6 Absatz 3 Satz 1 i. V. m. Absatz 1 Satz 1 GrEStG i. H. der Deckungsgleiche der Beteiligung des A am Vermögen der fiktiv alten und der fiktiv neuen KG mithin zu 50 % nicht erhoben. Die Nachbehaltensfrist des § 6 Absatz 3 Satz 2 GrEStG ist zu beachten.
5.3.3 Änderung des Gesellschafterbestandes in Bezug auf Kapitalgesellschaften
An einer grundbesitzenden OHG sind A zu 85 %, B zu 5 % und die C-GmbH zu 10 % beteiligt. Die Anteile der C-GmbH halten D zu 90 % und E und F je zu 5 %. Im Jahr 01 überträgt A seine Beteiligung an der OHG auf X. Im Jahr 02 übertragen D und E ihre Anteile an der C-GmbH auf Y und Z.


Die Übertragung der Beteiligung des A auf X führt im Jahr 01 zu einem unmittelbaren Gesellschafterwechsel in Höhe von 85 %.
Durch die Übertragungen von D auf Y und E auf Z im Jahr 02 wird die C-GmbH fiktive Neugesellschafterin der OHG, da mindestens 95 % der Anteile an der C-GmbH (90 % + 5 %) auf Neugesellschafter in Bezug auf die C-GmbH (Y und Z) übergegangen sind. Die mittelbare Anteilsänderung ist nicht anteilig (95 % von 10 %), sondern voll mit 10 % zu berücksichtigen. Die C-GmbH gilt im vollen Umfang als neue Gesellschafterin, da an ihr mindestens 95 % (90 % + 5 %) der Anteile auf neue Gesellschafter übergegangen sind. Dabei ist der Fünfjahreszeitraum nicht zu beachten (vgl. Tz. 6).
Der Tatbestand des § 1 Absatz 2a GrEStG ist im Jahr 02 erfüllt, da innerhalb von fünf Jahren mindestens 95 % der Anteile am Vermögen der OHG (01: 85 % + 02: 10 %) auf Neugesellschafter in Bezug auf die OHG (X und C-GmbH) übergegangen sind. Die Steuer ist nach § 6 Absatz 3 GrEStG in Höhe von 5 % nicht zu erheben.
5.3.4 Abwandlung zu 5.3.3
An einer grundbesitzenden OHG sind A zu 85 %, B zu 5 % und die C-GmbH zu 10 % beteiligt. Die Anteile der C-GmbH halten D zu 90 % und E und F je zu 5 %. Im Jahr 01 überträgt A seine gesamte Beteiligung an der OHG auf X. Im Jahr 02 überträgt D seine Anteile an der C-GmbH auf Y.
Die Übertragung der Beteiligung des A auf X führt im Jahr 01 zu einem unmittelbaren Gesellschafterwechsel in Höhe von 85 %. Durch die Übertragung von D auf Y im Jahr 02 wird die C-GmbH nicht fiktive Neugesellschafterin der OHG, da nicht mindestens 95 % der Anteile an der C-GmbH (90 %) auf Neugesellschafter in Bezug auf die C-GmbH (Y) übergegangen sind. Die C-GmbH bleibt Altgesellschafterin der OHG. Der Tatbestand des § 1 Absatz 2a GrEStG ist im Jahr 02 nicht erfüllt, da innerhalb von fünf Jahren nicht mindestens 95 % der Anteile am Vermögen der OHG (01: 85 %) auf Neugesellschafter in Bezug auf die OHG übergegangen sind.
5.3.5 Teils unmittelbarer, teils mittelbarer Gesellschafterwechsel über eine GmbH
Am Vermögen der grundbesitzenden A-KG sind A zu 4 % und die E-GmbH zu 96 % beteiligt. Gesellschafter der E-GmbH sind B und die C-KG zu jeweils 50 %. Am Vermögen der C-KG sind C zu 90 % und D zu 10 % beteiligt.
Im Jahr 01 überträgt B seine Beteiligung an der E-GmbH auf Z. Im Jahr 04 überträgt C seine Beteiligung an der C-KG auf Y.

Durch die Übertragung von B auf Z im Jahr 01 gehen 50 % der Anteile an der E-GmbH auf Neugesellschafter der E-GmbH über. Die E-GmbH bleibt Altgesellschafterin der A-KG, da nicht mindestens 95 % der Anteile an ihr auf Neugesellschafter übergegangen sind.
Durch die Übertragung von C auf Y im Jahr 04 gehen weitere 45 % der Anteile an der E-GmbH (90 % x 50 %) auf Neugesellschafter der E-GmbH über. Die E-GmbH wird fiktive Neugesellschafterin der A-KG, da mindestens 95 % der Anteile an der E-GmbH (50 % + 45 %) auf Neugesellschafter übergegangen sind. Der Fünfjahreszeiraum gilt bei Gesellschafterwechseln in Bezug auf Kapitalgesellschaften nicht (vgl. Tz. 6).
Der Tatbestand des § 1 Absatz 2a GrEStG ist erfüllt, da innerhalb von fünf Jahren mindestens 95 % der Anteile am Vermögen der A-KG (96 %) auf Neugesellschafter der A-KG übergegangen sind.
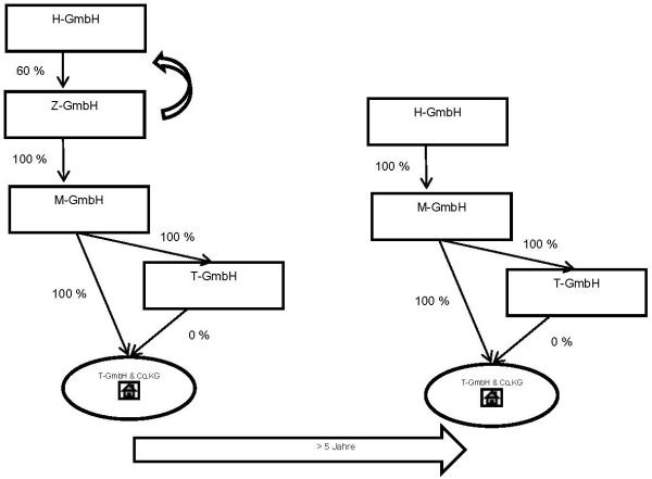
5.3.6 Beteiligungskette
Am Vermögen der grundbesitzenden T-GmbH & Co. KG ist als Kommanditistin die M-GmbH zu 100 % sowie die T-GmbH, deren Alleingesellschafterin die M-GmbH ist, zu 0 % beteiligt. 100 % der Anteile an der M-GmbH hält die Z-GmbH, deren Anteile in Höhe von 60 % von der H-GmbH gehalten werden. Nachdem die Beteiligungen mehr als fünf Jahre unverändert geblieben waren, überträgt die Z-GmbH ihre Anteile an der M-GmbH auf die H-GmbH.

Durch die Übertragung von der Z-GmbH auf die H-GmbH wird die M-GmbH fiktive Neugesellschafterin der grundbesitzenden T-GmbH & Co. KG, da mindestens 95 % der Anteile an der M-GmbH (100 %) auf die H-GmbH als Neugesellschafterin der M-GmbH übertragen wurden. Eine Verkürzung der Beteiligungskette im Sinne von Tz. 5.2.3.1 liegt nicht vor, da die H-GmbH an der Z-GmbH nur zu 60 % beteiligt war.
Der Tatbestand des § 1 Absatz 2a Satz 1 GrEStG ist erfüllt, da innerhalb von fünf Jahren mindestens 95 % der Anteile am Vermögen der T-GmbH & Co. KG (100 %) auf Neugesellschafter in Bezug auf die T-GmbH & Co. KG (M-GmbH) übergegangen sind.
5.3.7 Kapitalerhöhung
Am Vermögen einer grundbesitzenden Personengesellschaft sind fünf Gesellschafter zu jeweils 20 % beteiligt. Das Gesellschaftsvermögen beträgt 100.000 €. Drei Gesellschafter übertragen ihre Anteile auf Neugesellschafter. Anschließend wird innerhalb des Fünfjahreszeitraums das Vermögen im Wege der Kapitalerhöhung auf 1.000.000 € aufgestockt, wobei das zusätzliche Kapital ausschließlich auf die Anteile der Neugesellschafter entfällt.
Die Altgesellschafter sind zusammen weiterhin nur zu 40.000 € (entspricht 4 %) am Vermögen der Gesellschaft beteiligt. Auf die Neugesellschafter sind insgesamt 96 % (960.000 €) der nunmehr bestehenden Anteile übergegangen.
Der Tatbestand des § 1 Absatz 2a GrEStG ist erfüllt. Die Steuer ist nach § 6 Absatz 3 GrEStG in Höhe von 4 % nicht zu erheben.
5.3.8 Treuhandverhältnis
Am Vermögen einer grundbesitzenden GmbH & Co. KG sind eine Komplementär-GmbH zu 20 % und A zu 80 % beteiligt. Alleingesellschafterin der Komplementär-GmbH ist die Y-GmbH. Die Y-GmbH veräußert ihre Anteile an der Komplementär-GmbH auf die Z-GmbH. A vereinbart mit zwei Treugebern, für diese zukünftig jeweils 20 % der Kommanditanteile treuhänderisch zu halten. Außerdem veräußert er 35 % der Kommanditanteile an Dritte.

Die Komplementär-GmbH ist fiktive Neugesellschafterin der grundbesitzenden GmbH & Co. KG, da mindestens 95 % der Anteile an der Komplementär-GmbH (100 %) auf die Z-GmbH als Neugesellschafterin der Komplementär-GmbH übertragen wurden. Dadurch kommt es zu einer Änderung des Gesellschafterbestandes der grundbesitzenden GmbH & Co. KG in Höhe von 20 %.
Durch die Vereinbarung der Treuhandverhältnisse (40 %) und die Veräußerung von 35 % der Anteile am Vermögen der grundbesitzenden GmbH & Co. KG durch A auf Dritte werden weitere 75 % der Anteile am Vermögen der grundbesitzenden GmbH & Co. KG auf Neugesellschafter in Bezug auf die grundbesitzende GmbH & Co. KG übertragen.
Der Tatbestand des § 1 Absatz 2a Satz 1 GrEStG ist erfüllt. Die Steuer ist nach § 6 Absatz 3 GrEStG in Höhe von 5 % nicht zu erheben.
6 Fünfjahreszeitraum
Sukzessive Übertragungen unmittelbarer oder mittelbarer Beteiligungen am Vermögen der grundbesitzenden Personengesellschaft auf Neugesellschafter innerhalb von fünf Jahren sind zusammenzurechnen. Soweit ein Neugesellschafter einen Anteil am Vermögen der grundbesitzenden Personengesellschaft an einen weiteren Neugesellschafter oder Altgesellschafter veräußert, ist dieser bei der Ermittlung des Vomhundertsatzes nicht mitzuzählen. Übertragungen von mindestens 95 % der Anteile, die in einem Rechtsakt vollzogen werden, vollziehen sich in einer logischen Sekunde, also immer innerhalb eines Zeitraums von fünf Jahren. Der Fünfjahreszeitraum ist für jedes Grundstück im Vermögen der Personengesellschaft selbständig zu beurteilen. Der Fünfjahreszeitraum gilt nicht für Gesellschafterwechsel bei Kapitalgesellschaften im Sinne des § 1 Absatz 2a Satz 4 und 5 GrEStG.
6.1 Eine Gesellschaft bürgerlichen Rechts erwirbt im Jahr 01 zwei Grundstücke (Grundstück I und Grundstück II). Zu diesem Zeitpunkt sind an ihrem Gesellschaftsvermögen A und B zu je 20 %, C zu 10 % sowie die D-OHG zu 50 % beteiligt. Gesellschafter der D-OHG sind zu diesem Zeitpunkt D und F zu je 10 % sowie G und H zu je 40 %. Im Jahr 02 veräußern A, B und C ihre Anteile an X. Im Jahr 03 veräußern D und G ihre Anteile an der D-OHG an Y. Im Januar 04 verkauft die Gesellschaft bürgerlichen Rechts das Grundstück I. Ende desselben Jahres veräußert H seinen Anteil an der D-OHG an Z.
Da in Bezug auf das Grundstück I aufgrund dessen Veräußerung im Januar 04 nur insgesamt 75 % der Anteile am Gesellschaftsvermögen auf Neugesellschafter übergegangen sind, ist der Tatbestand des § 1 Absatz 2a Satz 1 GrEStG nur hinsichtlich des Grundstücks II erfüllt. Die Steuer ist hier nach § 6 Absatz 3 GrEStG in Höhe von 5 % nicht zu erheben.
6.2 Eine GmbH & Co. KG, an deren Vermögen nur die Kommanditisten A, B, C, D und E zu je 20 % beteiligt sind, kauft im Jahr 01 ein Grundstück (Grundstück I). Im Mai 02 überträgt A seine Kommanditbeteiligung auf W. Ende des Jahres 02 erwirbt die GmbH & Co. KG ein weiteres Grundstück (Grundstück II). Im Jahr 04 veräußern B und C ihre Anteile an X. Im Jahr 05 veräußert D seinen Anteil an Y und E drei Viertel seines Anteils (15 %) an Z. Bis Ende des Jahres 07 treten keine weiteren Änderungen im Gesellschafterbestand der GmbH & Co. KG ein.
Hinsichtlich des Grundstücks I ist im Jahr 05 der Tatbestand des § 1 Absatz 2a Satz 1 GrEStG erfüllt. Die Steuer ist nach § 6 Absatz 3 GrEStG in Höhe von 5 % nicht zu erheben. In Bezug auf das Grundstück II ist der Tatbestand des § 1 Absatz 2a Satz 1 GrEStG nicht erfüllt, weil es erst nach dem Erwerb des Anteils des A durch den W in das Vermögen der GmbH & Co. KG gelangte.
6.3 Nichtberücksichtigung bei mehrfacher Anteilsübertragung
Am Vermögen einer grundbesitzenden OHG sind A, B, C und D zu je 25 % beteiligt. Im Jahr 01 veräußert A seinen Anteil an W. Im Jahr 04 veräußern B, C und W ihre Anteile an X, Y und Z.
Insgesamt sind innerhalb von fünf Jahren nur 75 % der Anteile am Gesellschaftsvermögen übergegangen (von A auf W 25 %, von B auf X 25 % und von C auf Y 25 %). Der Tatbestand des § 1 Absatz 2a GrEStG ist nicht erfüllt. Altgesellschafter D bleibt mit 25 % an der OHG beteiligt. Da die Veräußerung des 25 %igen Anteils von A an W bereits bei der Ermittlung des Vomhundertsatzes berücksichtigt wurde, kann die Weiterveräußerung desselben Anteils innerhalb des maßgeblichen Fünfjahreszeitraums von W auf Z nicht noch einmal bei der Ermittlung des Vomhundertsatzes berücksichtigt werden.
Fortführung des Beispiels:
Im Jahr 08 veräußert D seine 25 %ige Beteiligung an M.
Insgesamt sind innerhalb von fünf Jahren 100 % der Anteile am Gesellschaftsvermögen übergegangen (von W auf Z 25 %, von B auf X 25 %, von C auf Y 25 % und von D auf M 25 %). Der Tatbestand des § 1 Absatz 2a GrEStG ist verwirklicht.

6.4 Am Vermögen der GmbH & Co. KG sind die C-GmbH zu 90 % und X zu 10 % beteiligt. Alleingesellschafter der C-GmbH ist C. Im Jahr 01 erwirbt die GmbH & Co. KG ein Grundstück.
Im Jahr 02 veräußert C 50 % seiner Anteile an der C-GmbH an X.
Im Jahr 03 veräußert C 40 % seiner Anteile an der C-GmbH an Y.
Im Jahr 04 veräußert C weitere 5 % seiner Anteile an der C-GmbH an X.
Im Jahr 05 veräußert X 5 % seiner Beteiligung an der GmbH & Co. KG an A.
Durch den Übergang der Anteile an der C-GmbH von C auf X im Jahr 02 sind erstmalig 50 % der Anteile an der GmbH auf einen Neugesellschafter übergegangen, da X zum Zeitpunkt des Grundstückserwerbs nicht Gesellschafter der C-GmbH war. Unabhängig davon, dass X unmittelbarer Altgesellschafter der GmbH & Co. KG ist, ist er in Bezug auf die C-GmbH unmittelbarer Neugesellschafter. In Bezug auf die GmbH & Co KG ist X nicht mittelbar über die GmbH beteiligt, da nur die GmbH selbst und nicht deren Anteilseigner Gesellschafter der GmbH & Co. KG sind. Die Tatbestandsvoraussetzungen des § 1 Absatz 2a Satz 4 GrEStG sind nicht erfüllt, da nicht mindestens 95 % der Anteile an der C-GmbH auf Neugesellschafter übergegangen sind. Der Fünfjahreszeiraum gilt bei Gesellschafterwechseln in Bezug auf Kapitalgesellschaften nicht. Die C-GmbH gilt im Jahr 02 nicht als unmittelbare Neugesellschafterin der GmbH & Co. KG.
Durch den Übergang der Anteile an der C-GmbH von C auf Y im Jahr 03 sind 40 % der Anteile an der GmbH auf einen Neugesellschafter übergegangen, da Y zum Zeitpunkt des Grundstückserwerbs nicht Gesellschafter der C-GmbH war. Die Tatbestandsvoraussetzungen von § 1 Absatz 2a Satz 4 GrEStG sind nicht erfüllt, da nicht mindestens 95 % der Anteile an der C-GmbH auf Neugesellschafter übergegangen sind (02: 50 % + 03: 40 %). Der Fünfjahreszeiraum gilt bei Gesellschafterwechseln in Bezug auf Kapitalgesellschaften nicht. Die C-GmbH gilt im Jahr 03 weiterhin nicht als unmittelbare Neugesellschafterin der GmbH & Co. KG.
Durch den Übergang der Anteile an der C-GmbH von C auf X im Jahr 04 sind weitere 5 % der Anteile an der GmbH auf den Neugesellschafter der GmbH X übergegangen. Die Tatbestandsvoraussetzungen des § 1 Absatz 2a Satz 4 GrEStG sind erfüllt, da mindestens 95 % der Anteile an der C-GmbH auf Neugesellschafter in Bezug auf die C-GmbH übergegangen sind (Jahr 02: 50 % + Jahr 03: 40 % + Jahr 04: 5 %). Die C-GmbH gilt im Jahr 04 als unmittelbare Neugesellschafterin der GmbH & Co. KG.
Durch den Übergang der Anteile am Gesellschaftsvermögen der GmbH & Co. KG von X auf A im Jahr 05 sind 5 % der Anteile am Vermögen der GmbH & Co. KG auf den Neugesellschafter A übergegangen. Die Tatbestandsvoraussetzungen von § 1 Absatz 2a Satz 1 GrEStG sind erfüllt, da mindestens 95 % der Anteile am Vermögen der GmbH & Co. KG (Jahr 04: 90 % + Jahr 05: 5 %) innerhalb von fünf Jahren auf Neugesellschafter der GmbH & Co. KG (C-GmbH und A) übergegangen sind. Die Steuer ist nach § 6 Absatz 3 GrEStG in Höhe von 5 % nicht zu erheben.
6.5 Mehrfacher Gesellschafterwechsel an einer Kapitalgesellschaft
Am Vermögen der grundbesitzenden GmbH & Co. KG sind eine GmbH zu 80 % und D zu 20 % beteiligt. Alleingesellschafter der GmbH ist A. Im Jahr 01 überträgt A seine Beteiligung an der GmbH auf B. Im Jahr 04 überträgt B seine Beteiligung an der GmbH auf C.

Durch die Anteilsübertragung von A auf B im Jahr 01 gehen mindestens 95 % der Anteile an der GmbH (100 %) auf Neugesellschafter der GmbH über. Die GmbH gilt gemäß § 1 Absatz 2a Satz 4 GrEStG als Neugesellschafterin der GmbH & Co. KG. Der Tatbestand des § 1 Absatz 2a Satz 1 GrEStG ist nicht erfüllt, da nicht mindestens 95 % der Anteile am Vermögen der GmbH & Co. KG (80 %) auf Neugesellschafter (GmbH) übergegangen sind.
Durch die Anteilsübertragung von B auf C im Jahr 04 gehen erneut mindestens 95 % der Anteile an der GmbH (100 %) auf Neugesellschafter der GmbH über. Die GmbH gilt seit dem Gesellschafterwechsel im Jahr 01 als Neugesellschafterin der GmbH & Co. KG. Diese Eigenschaft bleibt bei dem erneuten Gesellschafterwechsel im Jahr 04 erhalten. Der Tatbestand des § 1 Absatz 2a Satz 1 GrEStG ist weiterhin nicht erfüllt, da die Anteilsübertragung nicht zu einer weiteren Änderung der Beteiligungsverhältnisse zu Lasten der Altgesellschafter in Bezug auf die GmbH & Co. KG innerhalb des Fünfjahreszeitraums führt.
7 Verhältnis zu § 1 Absatz 3 und 3a GrEStG
Ändert sich der Gesellschafterbestand einer Personengesellschaft, kann eine Besteuerung nach § 1 Absatz 2a, 3 oder 3a GrEStG in Betracht kommen. § 1 Absatz 2a GrEStG geht der Anwendung des § 1 Absatz 3 und 3a GrEStG vor. § 1 Absatz 3 GrEStG hat Vorrang vor § 1 Absatz 3a GrEStG. Die Anwendung des § 1 Absatz 3 und 3a GrEStG wird durch § 1 Absatz 2a GrEStG auch dann ausgeschlossen, wenn nach dessen Satz 6 oder einer Befreiungsvorschrift die Steuer nicht erhoben wird.
8 Verhältnis zu Befreiungsvorschriften
§ 1 Absatz 2a Satz 1 GrEStG fingiert einen Grundstücksübergang von einer Personengesellschaft mit altem Gesellschafterbestand auf eine fiktiv neue Personengesellschaft mit neuem Gesellschafterbestand. Die Steuerbefreiungen des § 3 GrEStG sind zu beachten.
8.1 Am Vermögen einer grundbesitzenden GmbH & Co. KG ist A als Kommanditist zu 100 % und eine Komplementär-GmbH zu 0 % beteiligt. A ist Alleingesellschafter der Komplementär-GmbH. A überträgt seine Kommanditbeteiligung und seine Anteile an der GmbH unentgeltlich auf einen Dritten.
Der Tatbestand des § 1 Absatz 2a Satz 1 GrEStG ist erfüllt, da mindestens 95 % der Anteile am Vermögen der GmbH & Co. KG (100 %) auf einen Neugesellschafter übergegangen sind. Der Vorgang ist nach § 3 Nummer 2 Satz 1 GrEStG steuerfrei. Zweck dieser Vorschrift ist, die doppelte Belastung mit Grunderwerbsteuer und Schenkungsteuer desselben Lebenssachverhalts zu vermeiden. Dies gilt auch, wenn Gegenstand der freigebigen Zuwendung ein Anteil an einer grundbesitzenden Personengesellschaft ist. § 3 Nummer 2 GrEStG ist immer anwendbar, wenn ein Vorgang unter das ErbStG fällt. Dies gilt unabhängig davon, ob tatsächlich Erbschaft- oder Schenkungsteuer entstanden ist. Die Anwendung des § 1 Absatz 3 GrEStG wird durch den Vorrang von § 1 Absatz 2a GrEStG auch dann ausgeschlossen, wenn auf Grund einer Befreiungsvorschrift die Steuer nicht erhoben wird.
8.2 Am Vermögen der grundbesitzenden OHG sind A zu 90 %, B zu 8 % und C zu 2 % beteiligt. Innerhalb des Fünfjahreszeitraums überträgt A seinen Anteil auf seinen Sohn Y und B seinen Anteil auf den ihm fremden Z.
Der Tatbestand des § 1 Absatz 2a Satz 1 GrEStG ist erfüllt, da mindestens 95 % der Anteile am Vermögen der OHG (90 % + 8 %) auf Neugesellschafter übertragen werden. Der Vorgang ist zu 90 % nach § 3 Nummer 6 GrEStG befreit. In Höhe von 2 % wird die Steuer nach § 6 Absatz 3 Satz 1 i. V. m. Absatz 1 Satz 1 GrEStG nicht erhoben.
9 Grundstückserwerbe von einem Gesellschafter (§§ 5, 6 GrEStG) und verbleibende Altgesellschafter (§ 6 Absatz 3 GrEStG)
Ausführungen hierzu enthalten die gleich lautenden Erlasse der obersten Finanzbehörden der Länder zur Anwendung der §§ 5 und 6 GrEStG.
10 Verhältnis zu § 16 GrEStG
§ 16 Absatz 2 GrEStG ist im Zusammenhang mit § 1 Absatz 2a Satz 1 GrEStG anzuwenden, wenn einer oder mehrere der Gesellschafterwechsel, die zur Verwirklichung des § 1 Absatz 2a Satz 1 GrEStG geführt haben, ganz oder teilweise rechtlich und tatsächlich im Sinne des § 16 GrEStG rückgängig gemacht wird bzw. werden und infolgedessen ein Übergang von mindestens 95 % der Anteile am Gesellschaftsvermögen im Ergebnis nicht mehr gegeben ist. Werden bei sukzessiver Tatbestandserfüllung nicht alle Rechtsvorgänge, die zur Verwirklichung des § 1 Absatz 2a GrEStG beigetragen haben, nach der Tatbestandsverwirklichung fristgemäß und in allen Teilen vollständig beim zuständigen Finanzamt angezeigt, scheidet die Anwendung des § 16 Absatz 2 GrEStG nach § 16 Absatz 5 GrEStG aus. Dies gilt auch für Beteiligungsaufstockungen (, BStBl 2017 II S. 966).
10.1 Am Vermögen der grundbesitzenden OHG sind A zu 90 % und B zu 10 % beteiligt. Im Jahr 01 überträgt A seine Beteiligung auf X. Im Jahr 04 überträgt B 5 % der Anteile am Vermögen der OHG auf Y. Die OHG zeigt die Vorgänge im Jahr 04 fristgemäß und in allen Teilen vollständig nach § 19 Absatz 1 Satz 1 Nummer 3a GrEStG beim zuständigen Finanzamt an. Das Finanzamt setzt Grunderwerbsteuer nach § 1 Absatz 2a GrEStG fest. In der darauffolgenden Woche wird die Übertragung der Beteiligung von A auf X in Höhe von 0,1 % rückgängig gemacht.
Auf Grund der Rückgängigmachung eines Teils der Anteilsübertragung aus dem Jahr 01 wird die 95 %-Grenze unterschritten (94,9 %). Der Tatbestand des § 1 Absatz 2a Satz 1 GrEStG ist dadurch nicht mehr erfüllt. Die Anwendung des § 16 Absatz 2 Nummer 1 GrEStG ist nicht nach § 16 Absatz 5 GrEStG ausgeschlossen, da die Vorgänge fristgemäß und in allen Teilen vollständig beim zuständigen Finanzamt angezeigt wurden. Der Grunderwerbsteuerbescheid ist aufzuheben.
10.2 Am Vermögen der grundbesitzenden OHG sind A zu 90 % und B zu 10 % beteiligt. Im Jahr 01 überträgt B seine Beteiligung auf X. Im Jahr 04 überträgt A 85 % der Anteile am Vermögen der OHG auf X (Aufstockung der Beteiligung des X). Die OHG zeigt die Vorgänge im Jahr 04 nicht fristgemäß und in allen Teilen vollständig nach § 19 Absatz 1 Satz 1 Nummer 3a GrEStG beim zuständigen Finanzamt an. Nach einer Außenprüfung im Jahr 05 erhält das Finanzamt von den Vorgängen Kenntnis und setzt Grunderwerbsteuer nach § 1 Absatz 2a GrEStG fest. In der darauffolgenden Woche wird die Übertragung der Beteiligung von A auf X in Höhe von 0,1 % rückgängig gemacht.
Auf Grund der Rückgängigmachung eines Teils der Anteilsübertragung aus dem Jahr 01 wird die 95 %-Grenze unterschritten (94,9 %). Der Tatbestand des § 1 Absatz 2a Satz 1 GrEStG ist dadurch nicht mehr erfüllt. Die Anwendung des § 16 Absatz 2 Nummer 1 GrEStG ist nach § 16 Absatz 5 GrEStG ausgeschlossen, da die Vorgänge nicht fristgemäß und in allen Teilen vollständig beim zuständigen Finanzamt angezeigt wurden. Der Grunderwerbsteuerbescheid ist nicht aufzuheben.
11 Bemessungsgrundlage
Nach § 8 Absatz 2 Satz 1 Nummer 3 GrEStG ist Bemessungsgrundlage in den Fällen des § 1 Absatz 2a GrEStG der Grundbesitzwert im Sinne des § 151 Absatz 1 Satz 1 Nummer 1 i. V. m. § 157 Absatz 1 bis 3 BewG (zur Bewertung siehe Abschnitte 151 ff. ErbStR). Die Bemessungsgrundlage ist nicht auf die Anteile der eintretenden Gesellschafter und der Altgesellschafter aufzuteilen. Auch bei einer Übertragung von weniger als 100 % der Anteile am Vermögen einer Gesellschaft ist Bemessungsgrundlage der volle Wert des Grundbesitzes.
12 Steuerschuldner und Bekanntgabe des Steuerbescheids
Steuerschuldner ist in den Fällen des § 1 Absatz 2a GrEStG die Personengesellschaft in ihrer jeweiligen Zusammensetzung (§ 13 Nummer 6 GrEStG). Gegen sie als Inhaltsadressat ist der Steuerbescheid zu richten (§ 157 Absatz 1 Satz 2 AO). Bekannt zu geben ist er an die im Zeitpunkt der Bekanntgabe vertretungsberechtigten Personen.
13 Anzeigepflicht
Gemäß § 19 Absatz 1 Satz 1 Nummer 3a GrEStG sind von der grundbesitzenden Personengesellschaft alle Rechtsvorgänge anzuzeigen, die zur Verwirklichung des Tatbestands des § 1 Absatz 2a GrEStG geführt haben. Die Anzeigepflicht besteht bei Tatbestandsverwirklichung. Bei sukzessiver Änderung des Gesellschafterbestands sind bei der Anzeige die vorausgegangenen Gesellschafterwechsel, die zur Tatbestandsverwirklichung beigetragen haben, anzugeben.
Die Anzeige ist innerhalb von zwei Wochen nach Kenntniserlangung von dem anzeigepflichtigen Vorgang zu erstatten. Nach § 20 Absatz 2 Nummer 3 GrEStG muss die Anzeige bei mehreren Beteiligten eine Beteiligungsübersicht enthalten.
14 Grundsätze des , BStBl 2013 II S. 833
Das , wurde im Bundessteuerblatt mit den gleich lautenden Erlassen der obersten Finanzbehörden der Länder vom , BStBl 2013 I S. 1278, veröffentlicht und war deshalb zunächst nicht über den entschiedenen Einzelfall hinaus anzuwenden. Die Nichtanwendungserlasse vom wurden durch die gleich lautenden Erlasse der obersten Finanzbehörden der Länder vom , BStBl 2015 I S. 822, aufgehoben. Durch das Steueränderungsgesetz 2015 vom , BGBl. 2015 I S. 1834, wurde § 1 Absatz 2a GrEStG mit Wirkung ab geändert. In allen Fällen, bei denen der Tatbestand des § 1 Absatz 2a GrEStG vor dem verwirklicht wurde, sind die Rechtsgrundsätze des anzuwenden. Für sukzessive Gesellschafterwechsel, bei denen nur ein Teil der Anteilsübertragungen vor dem stattgefunden hat, siehe Tz. 15 (Übergangsregelung).
Nach dem liegt eine unmittelbare Änderung des Gesellschafterbestandes einer grundbesitzenden Personengesellschaft vor, wenn ein Mitgliedschaftsrecht an der Gesellschaft zivilrechtlich wirksam auf ein neues Mitglied der Personengesellschaft übergeht.
Ist eine Personen- oder Kapitalgesellschaft unmittelbar an der grundbesitzenden Personengesellschaft beteiligt, kann nur die Personen- oder Kapitalgesellschaft selbst Alt- oder Neugesellschafterin der grundbesitzenden Personengesellschaft sein, nicht jedoch deren Gesellschafter. Eine unmittelbar an der grundbesitzenden Personengesellschaft beteiligte Personen- oder Kapitalgesellschaft gilt nur dann als fiktiv neu, wenn an ihr auf der obersten Beteiligungsebene (natürliche und juristische Personen außer Kapitalgesellschaften – z. B. Stiftung, Bund, Land oder Kommune) ein 100 %iger Gesellschafterwechsel stattgefunden hat. Kapital- und Personengesellschaften werden gleich behandelt.
Am Vermögen einer grundbesitzenden Personengesellschaft sind die A-OHG und B-GmbH zu jeweils 50 % beteiligt. Am Vermögen der A-OHG sind eine Stiftung und A zu jeweils 50 % beteiligt. An der B-GmbH sind die B-KG und B zu jeweils 50 % beteiligt. An der B-KG sind die Stadt und C zu jeweils 50 % beteiligt.
Im Jahr 2011 übertragen A und die Stiftung ihre Beteiligung am Vermögen der A-OHG auf Y und Z.
Im Jahr 2013 übertragen die Stadt und C ihre Beteiligung am Vermögen der B-KG auf X und W.
Im Jahr 2014 überträgt B seine Beteiligung an der B-GmbH auf V.

Durch die Anteilsübertragungen im Jahr 2011 gilt die A-OHG als Neugesellschafterin der grundbesitzenden Personengesellschaft, da auf der obersten Beteiligungsebene der A-OHG 100 % der Gesellschaftsanteile übergegangen sind.
Im Jahr 2013 gilt die B-GmbH nicht als Neugesellschafterin der grundbesitzenden Personengesellschaft. Auf der obersten Beteiligungsebene der B-GmbH hat kein vollständiger Gesellschafterwechsel stattgefunden, da B beteiligt bleibt.
Durch die Anteilsübertragungen im Jahr 2014 gilt die B-GmbH als Neugesellschafterin der grundbesitzenden Personengesellschaft, da auf der obersten Beteiligungsebene der B-GmbH ein vollständiger Gesellschafterwechsel eingetreten ist. Der Tatbestand des § 1 Absatz 2a GrEStG ist erfüllt, da innerhalb von fünf Jahren mindestens 95 % (100 %) der Anteile am Vermögen der grundbesitzenden Personengesellschaft übergegangen sind (A-OHG 50 % und B-GmbH 50 %).
15 Übergangsregelung für sukzessive Gesellschafterwechsel über den
Für Fälle, bei denen der Tatbestand des § 1 Absatz 2a GrEStG vor dem verwirklicht wurde, sind die Grundsätze des anzuwenden (§ 1 Absatz 2a GrEStG a. F., vgl. Tz. 14). Für Fälle, bei denen der Tatbestand des § 1 Absatz 2a GrEStG nach dem verwirklicht wurde, findet § 1 Absatz 2a GrEStG in der Fassung des Steueränderungsgesetzes 2015 vom , BGBl. 2015 I S. 1834 (§ 1 Absatz 2a GrEStG n. F.) gemäß § 23 Absatz 13 GrEStG Anwendung. Für sukzessive Gesellschafterwechsel, bei denen der Tatbestand des § 1 Absatz 2a GrEStG nach dem verwirklicht wurde, aber ein Teil der Anteilsübertragungen vor dem stattgefunden hat, gilt das Folgende:
Nach dem führen mittelbare Änderungen bei Personen- und Kapitalgesellschaften nur dann zu einem Gesellschafterwechsel, wenn auf der obersten Beteiligungsebene ein 100 %iger Wechsel stattgefunden hat. Dies ist auf alle Anteilsübertragungen vor dem anzuwenden. Auf alle Anteilsübertragungen nach dem ist die neue Rechtslage anzuwenden, nach der bei Gesellschaftsstrukturen mit Personen- und Kapitalgesellschaften durch Personengesellschaften durchzurechnen und auf der Ebene jeder Kapitalgesellschaft die 95 %-Grenze zu prüfen ist.
Ein vor dem begonnener Fünfjahreszeitraum läuft regulär weiter und wird durch die gesetzliche Neuregelung nicht beendet.
Durch die Gesetzesänderung werden die Gesellschafter, die mittelbar über eine oder mehrere Personengesellschaften zu mindestens 95 % am Vermögen der grundbesitzenden Personengesellschaft beteiligt sind, Altgesellschafter in Bezug auf die grundbesitzende Personengesellschaft.
Gesellschafter einer Kapitalgesellschaft, die zu mindestens 95 % an der Kapitalgesellschaft beteiligt sind, werden durch die Gesetzesänderung Altgesellschafter in Bezug auf die Kapitalgesellschaft. Die Gesellschafter einer Kapitalgesellschaft sind weder mittelbare Altgesellschafter noch mittelbare Neugesellschafter in Bezug auf die grundbesitzende Personengesellschaft.
15.1 Am Vermögen einer grundbesitzenden Personengesellschaft sind die A-GmbH zu 2,5 %, die B-GmbH zu 90 %, die C-OHG zu 2,5 % und die E-OHG zu 5 % beteiligt. Alleingesellschafter der A-GmbH ist A. Alleingesellschafter der B-GmbH ist B. Am Vermögen der C-OHG sind C zu 95 % und D zu 5 % beteiligt. Am Vermögen der E-OHG sind E zu 95 % und F zu 5 % beteiligt.
Im Jahr 2012 überträgt A 95 % der Anteile an der A-GmbH auf Z.
Im Jahr 2014 überträgt C seine Beteiligung am Vermögen der C-OHG auf Y.
Im Januar 2016 überträgt B 95 % der Anteile an der B-GmbH auf X.
Im November 2016 überträgt E seine Beteiligung am Vermögen der E-OHG auf W und F überträgt seine Beteiligung am Vermögen der E-OHG auf V.


Die Übertragung von 95 % der Anteile an der A-GmbH von A auf Z im Jahr 2012 ist für § 1 Absatz 2a GrEStG a. F. unbeachtlich, da weniger als 100 % der Anteile auf Neugesellschafter in Bezug auf die A-GmbH übertragen werden.
Die Übertragung von 95 % der Anteile am Vermögen der C-OHG von C auf Y im Jahr 2014 ist für § 1 Absatz 2a GrEStG a. F. unbeachtlich, da weniger als 100 % der Anteile am Gesellschaftsvermögen auf Neugesellschafter in Bezug auf die C-OHG übertragen werden.
Durch die Übertragung von 95 % der Anteile an der B-GmbH von B auf X im Januar 2016, gilt die B-GmbH gemäß § 1 Absatz 2a Satz 4 GrEStG n. F. als Neugesellschafterin der grundbesitzenden Personengesellschaft. Es gelten 90 % der Anteile am Vermögen der grundbesitzenden Personengesellschaft als auf Neugesellschafter übertragen.
Durch die Übertragung der Anteile am Vermögen der E-OHG von E auf W und V im November 2016 sind 5 % (95 % x 5 % + 5 % x 5 %) der Anteile am Vermögen der grundbesitzenden Personengesellschaft auf Neugesellschafter übergegangen. Der Tatbestand des § 1 Absatz 2a GrEStG ist erfüllt, da innerhalb von fünf Jahren mindestens 95 % der Anteile am Vermögen der grundbesitzenden Personengesellschaft (Januar 2016: 90 % + November 2016 5 %) übergegangen sind.
15.2 Am Vermögen der grundbesitzenden Personengesellschaft sind die Komplementär-GmbH zu 0 % und die A-GmbH zu 100 % beteiligt. Alleingesellschafter der A-GmbH ist A. Im Jahr 2014 überträgt A 97 % der Anteile an der A-GmbH auf Z. Im Jahr 2016 überträgt A 2 % der Anteile an der A-GmbH auf Y.
Die Übertragung von 97 % der Anteile an der A-GmbH von A auf Z im Jahr 2014 ist für § 1 Absatz 2a GrEStG a. F. unbeachtlich, da weniger als 100 % der Anteile auf Neugesellschafter in Bezug auf die A-GmbH übertragen werden.
Die Übertragung von 2 % der Anteile an der A-GmbH von A auf Y im Jahr 2016 führt nicht zur Verwirklichung des Tatbestands des § 1 Absatz 2a GrEStG n. F., da weniger als 95 % der Anteile auf Neugesellschafter in Bezug auf die A-GmbH übertragen werden. Die Übertragung von 97 % der Anteile an der A-GmbH von A auf Z im Jahr 2014 ist nicht mitzuzuzählen, da Z durch die Gesetzesänderung Altgesellschafter in Bezug auf die A-GmbH geworden ist.
15.3 Am Vermögen einer grundbesitzenden GmbH & Co KG sind die Komplementär-GmbH zu 0 % und die A-OHG zu 100 % beteiligt. Am Vermögen der A-OHG sind A zu 99 % und B zu 1 % beteiligt.
Im Jahr 2014 überträgt A 99 % der Anteile am Vermögen der A-OHG auf Z.
Im Jahr 2016 überträgt Z 99 % der Anteile am Vermögen der A-OHG auf Y.
Für die Anteilsübertragung im Jahr 2014 von A auf Z gilt § 1 Absatz 2a GrEStG a. F. Die A-OHG gilt nicht als fiktive Neugesellschafterin der grundbesitzenden GmbH & Co KG, da sich der Gesellschafterbestand der A-OHG im Jahr 2014 nur zu 99 % und damit nicht vollständig geändert hat.
Für die Anteilsübertragung im Jahr 2016 von Z auf Y gilt § 1 Absatz 2a GrEStG n. F. Durch die Gesetzesänderung zum wird Z Altgesellschafter in Bezug auf die grundbesitzende GmbH & Co KG. Die Übertragung von 99 % der Anteile von Z auf Y führt mittelbar zu einem Übergang von mindestens 95 % (99 %) der Anteile am Vermögen der grundbesitzenden GmbH & Co KG auf den Neugesellschafter Y. Der Tatbestand des § 1 Absatz 2a GrEStG n. F. ist erfüllt.
15.4 Am Vermögen einer grundbesitzenden GmbH & Co KG sind die Komplementär-GmbH zu 0 % und die A-AG zu 100 % beteiligt. Alleingesellschafter der A-AG ist A.
Im Jahr 2014 überträgt A 99 % der Anteile an der A-AG auf Z.
Im Jahr 2016 überträgt Z 99 % der Anteile an der A-AG auf Y.
Für die Anteilsübertragung im Jahr 2014 von A auf Z gilt § 1 Absatz 2a GrEStG a. F. Die A-AG gilt nicht als fiktive Neugesellschafterin der grundbesitzenden GmbH & Co KG, da sich der Gesellschafterbestand der A-AG im Jahr 2014 nur zu 99 % und damit nicht vollständig geändert hat.
Für die Anteilsübertragung im Jahr 2016 von Z auf Y gilt § 1 Absatz 2a GrEStG n. F. Durch die Gesetzesänderung wird Z Altgesellschafter in Bezug auf die A-AG, aber nicht Alt- oder Neugesellschafter in Bezug auf die grundbesitzende GmbH & Co KG. Die Übertragung von 99 % der Anteile von Z auf Y führt zu einem Übergang von mindestens 95 % der Anteile an der A-AG auf den Neugesellschafter Y. Die A-AG gilt damit gemäß § 1 Absatz 2a Satz 4 GrEStG n. F. als Neugesellschafterin der grundbesitzenden GmbH & Co KG. Der Tatbestand des § 1 Absatz 2a GrEStG n. F. ist erfüllt, da innerhalb von fünf Jahren mindestens 95 % der Anteile am Vermögen der grundbesitzenden GmbH & Co KG (100 %) auf die fiktiv neue A-AG übergegangen sind.
16 Zeitlicher Anwendungsbereich
Dieser Erlass tritt an die Stelle der gleich lautenden Erlasse der obersten Finanzbehörden der Länder zur Anwendung des § 1 Absatz 2a GrEStG vom (BStBl 2014 I S. 561, 764). Er ist auf alle offenen Fälle anzuwenden.
Inhaltlich gleichlautend
Oberste Finanzbehörden der
Länder v. - S 4501 - 10 - V A 6
Ministerium für Finanzen und Wirtschaft
Baden-Württemberg - 3-S450.1/55
Senatsverwaltung für Finanzen
Berlin - S 4501 -
3/2009-9
Die Senatorin für Finanzen der Freien Hansestadt
Bremen - S
4501-1/2014-8/2017-13-5
Hessisches Ministerium der Finanzen - S4500 A-067-II63/5
Niedersächsisches Finanzministerium - S 4500-148-351
Ministerium der Finanzen des Landes
Rheinland-Pfalz - S
4501#2018/1-0401 444
Sächsisches Staatsministerium der
Finanzen - 35-S
4501/6/396-2018/24103
Finanzministerium des Landes
Schleswig-Holstein - VI 355 - S
4501 - 022
Bayerisches Staatsministerium der Finanzen,
für Landesentwicklung und Heimat - 36 - S
4501 - 1/6
Ministerium der Finanzen des Landes
Brandenburg - 31-S
4500/15#01#03
Finanzbehörde der Freien und Hansestadt
Hamburg - S 4501 - 2018/003 -
53
Finanzministerium
Mecklenburg-Vorpommern - IV-S
4501-00000-2017/003
Finanzministerium des Landes
Nordrhein-Westfalen - S 4501 -
10 - V A 6
Saarland Ministerium für Finanzen und
Europa - B/5 - S
4501-5#001
Ministerium der Finanzen des Landes
Sachsen-Anhalt - 42 - S 4501 -
41
Thüringer Finanzministerium - S 4501 A - 19
Auf diese Anweisung wird Bezug genommen in folgenden Verwaltungsanweisungen:
Fundstelle(n):
BStBl 2018 I Seite 1314
ErbStB 2019 S. 14 Nr. 1
ZAAAH-02088