Programmablaufpläne für den Lohnsteuerabzug 2013
Im Einvernehmen mit den obersten Finanzbehörden der Länder werden hiermit
der Programmablaufplan für die maschinelle Berechnung der vom Arbeitslohn einzubehaltenden Lohnsteuer, des Solidaritätszuschlags und der Maßstabsteuer für die Kirchenlohnsteuer für 2013 – Anlage 1 – und
der Programmablaufplan für die Erstellung von Lohnsteuertabellen für 2013 zur manuellen Berechnung der Lohnsteuer (einschließlich der Berechnung des Solidaritätszuschlags und der Bemessungsgrundlage für die Kirchenlohnsteuer) – Anlage 2 –
bekannt gemacht (§ 39b Absatz 6 und § 51 Absatz 4 Nummer 1a EStG).
Die Programmablaufpläne berücksichtigen nicht Tarifsenkungen aufgrund des Gesetzes zum Abbau der kalten Progression. Das Gesetz befindet sich derzeit noch im Vermittlungsverfahren, nachdem der Bundesrat dem Gesetz nicht zugestimmt (s. Bundestags-Drs. 17/9644 vom ) und die Bundesregierung den Vermittlungsausschuss angerufen hat (s. Bundestags-Drs. 17/9672 vom ). Der Arbeitgeber ist bis zur Bekanntmachung geänderter Programmablaufpläne nicht verpflichtet, Tarifsenkungen durch dieses Gesetz bei der Berechnung der Lohnsteuer zu berücksichtigen. Arbeitgeber, die die Lohnsteuer manuell berechnen (§ 39b i. V. m. § 51 Absatz 4 Nummer 1a EStG), können die Lohnsteuer bis zu einem noch zu bestimmenden Zeitpunkt nach Bekanntmachung geänderter Programmablaufpläne auch auf Grundlage von Lohnsteuertabellen für 2012 (Bekanntmachung vom , BStBl 2011 I S. 1114 , Anlage 2) ermitteln, wenn der Arbeitnehmer nicht ausdrücklich widerspricht und der Arbeitgeber den Lohnsteuerabzug bis zu einem noch zu bestimmenden Zeitpunkt nach Bekanntmachung geänderter Programmablaufpläne korrigiert.
Auf die Erläuterungen unter „1. Gesetzliche Grundlagen/Allgemeines” wird im Übrigen gesondert hingewiesen. Die Terminologie in den Programmablaufplänen berücksichtigt bereits die Regelungen des Verfahrens zu den elektronischen Lohnsteuerabzugsmerkmalen (ELStAM).
Anlage Programmablaufplan für die maschinelle Berechnung der vom Arbeitslohn einzubehaltenden Lohnsteuer, des Solidaritätszuschlags und der Maßstabsteuer für die Kirchenlohnsteuer für 2013
Das Programm bietet die Möglichkeit, die Werte von Lohnsteuer, Solidaritätszuschlag und Bemessungsgrundlage für die Kirchenlohnsteuer in Euro maschinell zu berechnen. Das Programm kann als Unterprogramm in ein Lohnabrechnungsverfahren eingefügt werden, wenn die unter 3.1 beschriebenen Eingangsparameter zur Verfügung gestellt werden. Es ist auch für den Lohnsteuer-Jahresausgleich durch den Arbeitgeber nach § 42b EStG einsetzbar.
Tabelle in neuem Fenster öffnen
1. | Gesetzliche Grundlagen |
2. | Erläuterungen |
2.1 | Allgemeines |
2.2 | Feldlängen |
2.3 | Symbole |
3. | Schnittstellenkonventionen |
3.1 | Eingangsparameter |
3.2 | Ausgangsparameter |
4. | Interne Felder |
5. | Programmablaufplan |
1. Gesetzliche Grundlagen/Allgemeines
Der Programmablaufplan enthält gem. § 39b Absatz 6 EStG:
die Berechnung der vom laufenden Arbeitslohn nach § 39b Absatz 2 EStG einzubehaltenden Lohnsteuer für Lohnzahlungszeiträume, die nach dem aber vor dem enden,
die Berechnung der von sonstigen Bezügen nach § 39b Absatz 3 Satz 1 bis 8 EStG einzubehaltenden Lohnsteuer für sonstige Bezüge, die nach dem aber vor dem zufließen,
die Berechnung des Solidaritätszuschlags,
die Ermittlung der Bemessungsgrundlage für die einzubehaltende Kirchenlohnsteuer (Minderung der ermittelten Lohnsteuer nach § 51a EStG).
Der Programmablaufplan berücksichtigt nicht Tarifsenkungen aufgrund des Gesetzes zum Abbau der kalten Progression. Das Gesetz befindet sich derzeit noch im Vermittlungsverfahren, nachdem der Bundesrat dem Gesetz nicht zugestimmt (s. Bundestags-Drs. 17/9644 vom ) und die Bundesregierung den Vermittlungsausschuss angerufen hat (s. Bundestags-Drs. 17/9672 vom ).
Bei der Aufstellung wurde im Übrigen für 2013 davon ausgegangen, dass
in der gesetzlichen Krankenversicherung und sozialen Pflegeversicherung die Beitragsbemessungsgrenze 47.250 Euro (2012: 45.900 Euro) beträgt,
in der gesetzlichen Krankenversicherung der ermäßigte Beitragssatz (§ 243 SGB V) weiterhin 14,9 % beträgt,
in der sozialen Pflegeversicherung der bundeseinheitliche Beitragssatz 2,05 % (2012: 1,95 %) beträgt,
in der allgemeinen Rentenversicherung die allgemeine Beitragsbemessungsgrenze (BBG West) 69.600 Euro (2012: 67.200 Euro) und die Beitragsbemessungsgrenze Ost (BBG Ost) 58.800 Euro (2012: 57.600 Euro) beträgt,
in der allgemeinen Rentenversicherung der Beitragssatz 18,9 % (2012: 19,6 %) beträgt und
der Teilbetrag der Vorsorgepauschale für die Rentenversicherung um 4 Prozentpunkte auf 52 % steigt (§ 39b Absatz 4 EStG).
2. Erläuterungen
2.1 Allgemeines
Es sind tägliche, wöchentliche, monatliche und jährliche Lohnzahlungszeiträume berücksichtigt. Die Aufteilung von Jahresbeträgen auf unterjährige Lohnzahlungszeiträume sowie die Hochrechnung von Beträgen für unterjährige Lohnzahlungszeiträume auf Jahresbeträge wird entsprechend den in § 39b Absatz 2 Satz 9 EStG angegebenen Bruchteilen vorgenommen. Die Berechnung abweichender Lohnzahlungszeiträume – z. B. drei Tage – ist nicht möglich. In diesen Fällen ist die Steuer für den nächst kleineren Zeitraum zu ermitteln – hier z. B. Berechnung für alle drei Tage einzeln als Tageslohnsteuer. Bruchteile eines Cent werden entsprechend den Angaben im Programmablaufplan auf ganze Cent aufgerundet bzw. bleiben außer Ansatz. Hat ein Rechenergebnis oder ein zu übertragendes Feld Dezimalstellen, die im Empfangsfeld nicht vorgesehen sind und ist im Programmablaufplan nichts anderes angegeben, sind diese überschüssigen Dezimalstellen wegzulassen. Dies gilt jedoch nur für die im Programmablaufplan genannten Felder. Zwischenfelder, die durch die Programmierung oder die verwendete Programmiersprache notwendig werden, sind nicht zu runden.
2.2 Feldlängen
Das Format und die Länge der Parameter und internen Felder sind bei der Programmierung (Codierung) zu bestimmen, soweit sie sich nicht unmittelbar aus den Erläuterungen oder dem Programmablaufplan ergeben.
Feldbeschreibungen ohne Stellenangaben beziehen sich auf Ganzzahlen, ansonsten sind die Nachkommastellen angegeben. Bei der Steuerberechnung werden Gleitkommafelder verwendet.
2.3 Symbole
Die im Programmablaufplan verwendeten Sinnbilder entsprechen der Zeichenschablone nach DIN 66001.
Darüber hinaus bedeuten:
Tabelle in neuem Fenster öffnen
↓ | = Wert nach unten abrunden
(z. B. Euro ↓ = auf volle Euro abrunden) |
↑ | = Wert nach oben aufrunden
(z. B. Cent ↑ = auf volle Cent aufrunden) |
→ | = „übertragen
nach” (Zuweisung) |
3. Schnittstellenkonventionen
3.1 Eingangsparameter
Die Plausibilität der Parameter wird im Programm nicht geprüft. Sie müssen daher in Vorprogrammen des Arbeitgebers abgesichert werden. Es kommen z. B. in Betracht:
Vorzeichenprüfung (z. B. darf der Wert in RE4 nicht negativ sein);
Prüfung auf gültigen Inhalt (z. B. Wert in LZZ nur 1, 2, 3 oder 4, Wert in ALTER1);
Prüfung von Eingangswerten im Verhältnis zu anderen Eingangswerten, z. B.:
VBEZ darf nicht größer als RE4 sein, da die Versorgungsbezüge im Bruttolohn enthalten sein müssen;
wenn STKL = 2 ist, muss ZKF größer als Null sein;
wenn STKL = 6 ist, darf die Eingabe von JHINZU und LZZHINZU nicht möglich sein;
das Faktorverfahren kommt nur in der Steuerklasse IV zur Anwendung;
neben dem Faktor darf kein Freibetrag eingetragen werden.
Es werden folgende Eingangsparameter benötigt:
Tabelle in neuem Fenster öffnen
Name | Bedeutung | |
AF | 1, wenn die Anwendung
des Faktorverfahrens gewählt wurde (nur in Steuerklasse IV) | |
AJAHR | Auf die Vollendung des
64. Lebensjahres folgendes Kalenderjahr (erforderlich, wenn
ALTER1 = 1) | |
ALTER1 | 1, wenn das
64. Lebensjahr vor Beginn des Kalenderjahres vollendet wurde, in dem der
Lohnzahlungszeitraum endet (§ 24a EStG),
sonst = 0 | |
ENTSCH | In VKAPA und VMT
enthaltene Entschädigungen nach
§ 24
Nummer 1 EStG in Cent | |
F | eingetragener Faktor
mit drei Nachkommastellen | |
JFREIB | Jahresfreibetrag für
die Ermittlung der Lohnsteuer für die sonstigen Bezüge nach Maßgabe der
elektronischen Lohnsteuerabzugsmerkmale nach
§ 39e EStG
oder der Eintragung auf der Bescheinigung für den Lohnsteuerabzug
2013 in Cent (ggf. 0) | |
JHINZU | Jahreshinzurechnungsbetrag für die Ermittlung der Lohnsteuer für
die sonstigen Bezüge nach Maßgabe der elektronischen Lohnsteuerabzugsmerkmale
nach
§ 39e EStG
oder der Eintragung auf der Bescheinigung für den Lohnsteuerabzug
2013 in Cent (ggf. 0) | |
JRE4 | Voraussichtlicher
Jahresarbeitslohn ohne sonstige Bezüge und ohne Vergütung für mehrjährige
Tätigkeit in Cent. Anmerkung: Die Eingabe dieses Feldes (ggf. 0) ist
erforderlich bei Eingabe „sonstiger Bezüge” (Feld SONSTB) oder
bei Eingabe der „Vergütung für mehrjährige Tätigkeit” (Feld
VMT). | |
Sind in einem
vorangegangenen Abrechnungszeitraum bereits sonstige Bezüge gezahlt worden, so
sind sie dem voraussichtlichen Jahresarbeitslohn hinzuzurechnen. Vergütungen
für mehrjährige Tätigkeit aus einem vorangegangenen Abrechnungszeitraum werden
in voller Höhe hinzugerechnet. | ||
JRE4ENT | In JRE4 enthaltene
Entschädigungen nach
§ 24
Nummer 1 EStG in Cent | |
JVBEZ | In JRE4 enthaltene
Versorgungsbezüge in Cent (ggf. 0) | |
KRV | Merker für die
Vorsorgepauschale | |
0 = | der Arbeitnehmer ist
in der gesetzlichen Rentenversicherung oder einer berufsständischen
Versorgungseinrichtung pflichtversichert oder, bei Befreiung von der
Versicherungspflicht freiwillig versichert; es gilt die allgemeine
Beitragsbemessungsgrenze (BBG West) | |
1 = | der Arbeitnehmer ist
in der gesetzlichen Rentenversicherung oder einer berufsständischen
Versorgungseinrichtung pflichtversichert oder, bei Befreiung von der
Versicherungspflicht freiwillig versichert; es gilt die
Beitragsbemessungsgrenze Ost (BBG Ost) | |
2 = | wenn nicht 0 oder
1 | |
LZZ | Lohnzahlungszeitraum: | |
1 = Jahr | ||
2 = Monat | ||
3 = Woche | ||
4 = Tag | ||
LZZFREIB | Der als elektronisches
Lohnsteuerabzugsmerkmal für den Arbeitgeber nach
§ 39e EStG
festgestellte oder in der Bescheinigung für den Lohnsteuerabzug
2013 eingetragene Freibetrag für den
Lohnzahlungszeitraum in Cent | |
LZZHINZU | Der als elektronisches
Lohnsteuerabzugsmerkmal für den Arbeitgeber nach
§ 39e EStG
festgestellte oder in der Bescheinigung für den Lohnsteuerabzug
2013 eingetragene Hinzurechnungsbetrag für den
Lohnzahlungszeitraum in Cent | |
PKPV | Dem Arbeitgeber
mitgeteilte Beiträge des Arbeitnehmers für eine private Basiskranken- bzw.
Pflege-Pflichtversicherung im Sinne des
§ 10 Absatz 1
Nummer 3 EStG in Cent; der Wert ist unabhängig
vom Lohnzahlungszeitraum immer als Monatsbetrag anzugeben | |
PKV | 0 = gesetzlich krankenversicherte Arbeitnehmer | |
1 = ausschließlich privat krankenversicherte
Arbeitnehmer ohne Arbeitgeberzuschuss | ||
2 = ausschließlich privat krankenversicherte
Arbeitnehmer mit Arbeitgeberzuschuss | ||
PVS | 1, wenn bei der
sozialen Pflegeversicherung die Besonderheiten in Sachsen zu berücksichtigen
sind bzw. zu berücksichtigen wären | |
PVZ | 1, wenn der
Arbeitnehmer den Zuschlag zur sozialen Pflegeversicherung zu zahlen hat | |
R | Religionsgemeinschaft
des Arbeitnehmers It. elektronischer Lohnsteuerabzugsmerkmale oder der
Bescheinigung für den Lohnsteuerabzug 2013 (bei
keiner Religionszugehörigkeit = 0) | |
RE4 | Steuerpflichtiger
Arbeitslohn vor Berücksichtigung des Versorgungsfreibetrags und des Zuschlags
zum Versorgungsfreibetrag, des Altersentlastungsbetrags und des als
elektronisches Lohnsteuerabzugsmerkmal festgestellten oder in der Bescheinigung
für den Lohnsteuerabzug 2013 für den
Lohnzahlungszeitraum eingetragenen Freibetrags bzw. Hinzurechnungsbetrags in
Cent | |
SONSTB | Sonstige Bezüge (ohne
Vergütung aus mehrjähriger Tätigkeit) einschließlich Sterbegeld bei
Versorgungsbezügen sowie Kapitalauszahlungen/Abfindungen, soweit es sich nicht
um Bezüge für mehrere Jahre handelt in Cent (ggf. 0) | |
SONSTENT | In SONSTB enthaltene
Entschädigungen nach
§ 24
Nummer 1 EStG in Cent | |
STERBE | Sterbegeld bei
Versorgungsbezügen sowie Kapitalauszahlungen/Abfindungen, soweit es sich nicht
um Bezüge für mehrere Jahre handelt (in SONSTB enthalten) in Cent | |
STKL | Steuerklasse: | |
1 = I | ||
2 = II | ||
3 = III | ||
4 = IV | ||
5 = V | ||
6 = VI | ||
VBEZ | In RE4 enthaltene
Versorgungsbezüge in Cent (ggf. 0) ggf. unter Berücksichtigung einer
geänderten Bemessungsgrundlage nach § 19 Absatz 2
Satz 10 und
11 EStG | |
VBEZM | Versorgungsbezug im
Januar 2005 bzw. für den ersten vollen Monat, wenn der Versorgungsbezug
erstmalig nach Januar 2005 gewährt wurde in Cent | |
VBEZS | Voraussichtliche
Sonderzahlungen von Versorgungsbezügen im Kalenderjahr des Versorgungsbeginns
bei Versorgungsempfängern ohne Sterbegeld, Kapitalauszahlungen/Abfindungen in
Cent | |
VBS | In SONSTB enthaltene
Versorgungsbezüge einschließlich Sterbegeld in Cent (ggf. 0) | |
VJAHR | Jahr, in dem der
Versorgungsbezug erstmalig gewährt wurde; werden mehrere Versorgungsbezüge
gezahlt, wird aus Vereinfachungsgründen für die Berechnung das Jahr des
ältesten erstmaligen Bezugs herangezogen | |
VKAPA | Kapitalauszahlungen/Abfindungen/Nachzahlungen bei
Versorgungsbezügen für mehrere Jahre in Cent (ggf. 0) | |
VMT | Vergütung für
mehrjährige Tätigkeit ohne Kapitalauszahlungen und ohne Abfindungen bei
Versorgungsbezügen in Cent (ggf. 0) | |
ZKF | Zahl der Freibeträge
für Kinder (eine Dezimalstelle, nur bei Steuerklassen I, II, III und IV) | |
ZMVB | Zahl der Monate, für
die Versorgungsbezüge gezahlt werden [nur erforderlich bei Jahresberechnung
(LZZ = 1)] | |
3.2 Ausgangsparameter
Als Ergebnis stellt das Programm folgende Ausgangsparameter zur Verfügung:
Tabelle in neuem Fenster öffnen
Name | Bedeutung |
BK | Bemessungsgrundlage
für die Kirchenlohnsteuer in Cent |
BKS | Bemessungsgrundlage
der sonstigen Bezüge (ohne Vergütung für mehrjährige Tätigkeit) für die
Kirchenlohnsteuer in Cent |
BKV | Bemessungsgrundlage
der Vergütung für mehrjährige Tätigkeit für die Kirchenlohnsteuer in Cent |
LSTLZZ | Für den
Lohnzahlungszeitraum einzubehaltende Lohnsteuer in Cent |
SOLZLZZ | Für den
Lohnzahlungszeitraum einzubehaltender Solidaritätszuschlag in Cent |
SOLZS | Solidaritätszuschlag
für sonstige Bezüge (ohne Vergütung für mehrjährige Tätigkeit) in Cent |
SOLZV | Solidaritätszuschlag
für die Vergütung für mehrjährige Tätigkeit in Cent |
STS | Lohnsteuer für
sonstige Bezüge (ohne Vergütung für mehrjährige Tätigkeit) in Cent |
STV | Lohnsteuer für die
Vergütung für mehrjährige Tätigkeit in Cent |
VKVLZZ | Für den
Lohnzahlungszeitraum berücksichtigte Beiträge des Arbeitnehmers zur privaten
Basis-Krankenversicherung und privaten Pflege-Pflichtversicherung (ggf. auch
die Mindestvorsorgepauschale) in Cent beim laufenden Arbeitslohn. Für Zwecke
der Lohnsteuerbescheinigung sind die einzelnen Ausgabewerte außerhalb des
eigentlichen Lohnsteuerberechnungsprogramms zu addieren; hinzuzurechnen sind
auch die Ausgabewerte VKVSONST. |
VKVSONST | Für den
Lohnzahlungszeitraum berücksichtigte Beiträge des Arbeitnehmers zur privaten
Basis-Krankenversicherung und privaten Pflege-Pflichtversicherung (ggf. auch
die Mindestvorsorgepauschale) in Cent bei sonstigen Bezügen. Der Ausgabewert
kann auch negativ sein. Für tarifermäßigt zu besteuernde Vergütungen für
mehrjährige Tätigkeiten enthält der PAP keinen entsprechenden Ausgabewert. |
4. Interne Felder
Das Programm verwendet intern folgende Felder (wenn ggf. solche Felder im Umfeld des Programms verwendet werden sollen, können sie als Ausgangsparameter behandelt werden, soweit sie nicht während des Programmdurchlaufs noch verändert wurden). Die internen Felder müssen vor Aufruf des Programms gelöscht werden:
Tabelle in neuem Fenster öffnen
Name | Bedeutung | |
ALTE | Altersentlastungsbetrag
in Euro, Cent (2 Dezimalstellen) | |
ANP | Arbeitnehmer-Pauschbetrag/Werbungskosten-Pauschbetrag in Euro | |
ANTEIL1 | Auf den
Lohnzahlungszeitraum entfallender Anteil von Jahreswerten auf ganze Cent
abgerundet | |
BMG | Bemessungsgrundlage für
Altersentlastungsbetrag in Euro, Cent (2 Dezimalstellen) | |
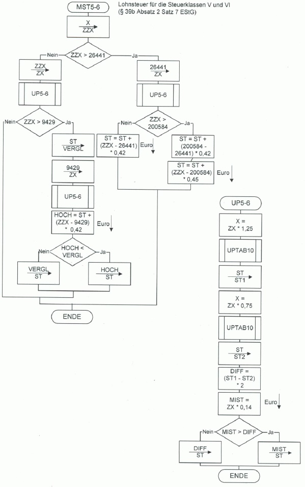
DIFF | Differenz zwischen ST1
und ST2 in Euro | |
EFA | Entlastungsbetrag für
Alleinerziehende in Euro | |
FVB | Versorgungsfreibetrag in
Euro, Cent (2 Dezimalstellen) | |
FVBSO | Versorgungsfreibetrag in
Euro, Cent (2 Dezimalstellen) für die Berechnung der Lohnsteuer für den
sonstigen Bezug | |
FVBZ | Zuschlag zum
Versorgungsfreibetrag in Euro | |
FVBZSO | Zuschlag zum
Versorgungsfreibetrag in Euro für die Berechnung der Lohnsteuer beim sonstigen
Bezug | |
HBALTE | Maximaler
Altersentlastungsbetrag in Euro | |
HFVB | Maßgeblicher maximaler
Versorgungsfreibetrag in Euro | |
HFVBZ | Maßgeblicher maximaler
Zuschlag zum Versorgungsfreibetrag in Euro, Cent (2 Dezimalstellen) | |
HFVBZSO | Maßgeblicher maximaler
Zuschlag zum Versorgungsfreibetrag in Euro, Cent (2 Dezimalstellen) für die
Berechnung der Lohnsteuer für den sonstigen Bezug | |
HOCH | Zwischenfeld zu X für
die Berechnung der Steuer nach
§ 39b Absatz 2
Satz 7 EStG in Euro | |
J | Nummer der Tabellenwerte
für Versorgungsparameter | |
JBMG | Jahressteuer nach
§ 51a EStG,
aus der Solidaritätszuschlag und Bemessungsgrundlage für die Kirchenlohnsteuer
ermittelt werden in Euro | |
JLFREIB | Auf einen Jahreslohn
hochgerechneter LZZFREIB in Euro, Cent (2 Dezimalstellen) | |
JLHINZU | Auf einen Jahreslohn
hochgerechnete LZZHINZU in Euro, Cent (2 Dezimalstellen) | |
JW | Jahreswert, dessen
Anteil für einen Lohnzahlungszeitraum in UPANTEIL errechnet werden soll in
Cent | |
K | Nummer der Tabellenwerte
für Parameter bei Altersentlastungsbetrag | |
KENNVMT | Merker für Berechnung
Lohnsteuer für mehrjährige Tätigkeit | |
0 = | normale
Steuerberechnung | |
1 = | Steuerberechnung für
mehrjährige Tätigkeit | |
2 = | Ermittlung der
Vorsorgepauschale ohne Entschädigungen i. S. d.
§ 24
Nummer 1 EStG | |
KFB | Summe der Freibeträge
für Kinder in Euro | |
KVSATZAG | Beitragssatz des
Arbeitgebers zur Krankenversicherung (5 Dezimalstellen) | |
KVSATZAN | Beitragssatz des
Arbeitnehmers zur Krankenversicherung (5 Dezimalstellen) | |
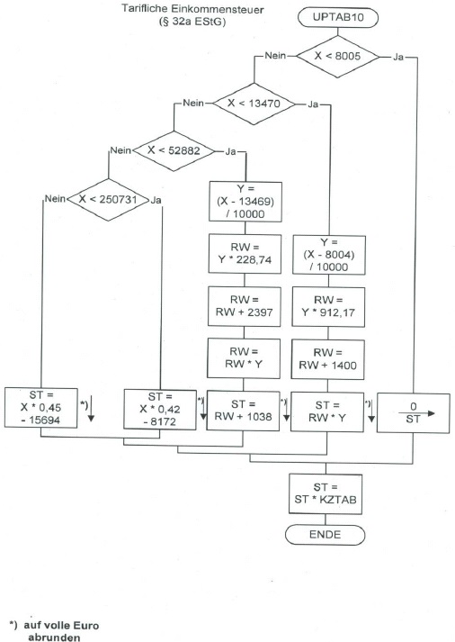
KZTAB | Kennzahl für die
Einkommensteuer-Tarifarten: | |
1 = Grundtarif | ||
2 = Splittingtarif | ||
LSTJAHR | Jahreslohnsteuer in
Euro | |
LST1, LST2, LST3,
LSTOSO, LSTSO | Zwischenfelder der
Jahreslohnsteuer in Cent | |
MIST | Mindeststeuer für die
Steuerklassen V und VI in Euro | |
PVSATZAG | Beitragssatz des
Arbeitgebers zur Pflegeversicherung (5 Dezimalstellen) | |
PVSATZAN | Beitragssatz des
Arbeitnehmers zur Pflegeversicherung (5 Dezimalstellen) | |
RW | Rechenwert in
Gleitkommadarstellung | |
SAP | Sonderausgaben-Pauschbetrag in Euro | |
SOLZFREI | Freigrenze für den
Solidaritätszuschlag in Euro | |
SOLZJ | Solidaritätszuschlag auf
die Jahreslohnsteuer in Euro, Cent (2 Dezimalstellen) | |
SOLZMIN | Zwischenwert für den
Solidaritätszuschlag auf die Jahreslohnsteuer in Euro, Cent (2
Dezimalstellen) | |
ST | Tarifliche
Einkommensteuer in Euro | |
ST1 | Tarifliche
Einkommensteuer auf das 1,25-fache ZX in Euro | |
ST2 | Tarifliche
Einkommensteuer auf das 0,75-fache ZX in Euro | |
STOVMT | Zwischenfeld zur
Ermittlung der Steuer auf Vergütungen für mehrjährige Tätigkeit in Euro | |
TAB1 | Tabelle für die
Prozentsätze des Versorgungsfreibetrags | |
TAB2 | Tabelle für die
Höchstbeträge des Versorgungsfreibetrags | |
TAB3 | Tabelle für die
Zuschläge zum Versorgungsfreibetrag | |
TAB4 | Tabelle für die
Prozentsätze des Altersentlastungsbetrags | |
TAB5 | Tabelle für die
Höchstbeträge des Altersentlastungsbetrags | |
VBEZB | Bemessungsgrundlage für
den Versorgungsfreibetrag in Cent | |
VBEZBSO | Bemessungsgrundlage für
den Versorgungsfreibetrag in Cent für den sonstigen Bezug | |
VERGL | Zwischenfeld zu X für
die Berechnung der Steuer nach
§ 39b Absatz 2
Satz 7 EStG in Euro | |
VHB | Höchstbetrag der
Mindestvorsorgepauschale für die Kranken- und Pflegeversicherung in Euro, Cent
(2 Dezimalstellen) | |
VKV | Jahreswert der
berücksichtigten Beiträge zur privaten Basis-Krankenversicherung und privaten
Pflege-Pflichtversicherung (ggf. auch die Mindestvorsorgepauschale) in
Cent | |
VSP | Vorsorgepauschale mit
Teilbeträgen für die Rentenversicherung sowie die gesetzliche Kranken- und
soziale Pflegeversicherung nach fiktiven Beträgen oder ggf. für die private
Basiskrankenversicherung und private Pflege-Pflichtversicherung_in Euro, Cent
(2 Dezimalstellen) | |
VSPN | Vorsorgepauschale mit
Teilbeträgen für die Rentenversicherung sowie der Mindestvorsorgepauschale für
die Kranken- und Pflegeversicherung in Euro, Cent (2 Dezimalstellen) | |
VSP1 | Zwischenwert 1 bei der
Berechnung der Vorsorgepauschale in Euro, Cent (2 Dezimalstellen) | |
VSP2 | Zwischenwert 2 bei der
Berechnung der Vorsorgepauschale in Euro, Cent (2 Dezimalstellen) | |
VSP3 | Vorsorgepauschale mit
Teilbeträgen für die gesetzliche Kranken- und soziale Pflegeversicherung nach
fiktiven Beträgen oder ggf. für die private Basiskrankenversicherung und
private Pflege-Pflichtversicherung in Euro, Cent (2 Dezimalstellen) | |
X | Zu versteuerndes
Einkommen gem. § 32a
Absatz 1 und
2 EStG in Euro,
Cent (2 Dezimalstellen) | |
Y | Gem.
§ 32a
Absatz 1 EStG (6 Dezimalstellen) | |
ZRE4 | Auf einen Jahreslohn
hochgerechnetes RE4 in Euro, Cent (2 Dezimalstellen) nach Abzug der Freibeträge
nach § 39b Absatz 2
Satz 3
und
4 EStG | |
ZRE4J | Auf einen Jahreslohn
hochgerechnetes RE4 in Euro, Cent (2 Dezimalstellen) | |
ZRE4VP | Auf einen Jahreslohn
hochgerechnetes RE4 in Euro, Cent (2 Dezimalstellen) ggf. nach Abzug der
Entschädigungen i. S. d.
§ 24
Nummer 1 EStG in Euro, Cent (2
Dezimalstellen) | |
ZTABFB | Feste
Tabellenfreibeträge (ohne Vorsorgepauschale) in Euro, Cent (2
Dezimalstellen) | |
ZVBEZ | Auf einen Jahreslohn
hochgerechnetes VBEZ abzüglich FVB in Euro, Cent (2 Dezimalstellen) | |
ZVBEZJ | Auf einen Jahreslohn
hochgerechnetes VBEZ in Euro, Cent (2 Dezimalstellen) | |
ZVE | Zu versteuerndes
Einkommen in Euro, Cent (2 Dezimalstellen) | |
ZX | Zwischenfeld zu X für
die Berechnung der Steuer nach
§ 39b Absatz 2
Satz 7 EStG in Euro | |
ZZX | Zwischenfeld zu X für
die Berechnung der Steuer nach
§ 39b Absatz 2
Satz 7 EStG in Euro | |
5. Programmablaufplan 2013




Maßgebender Prozentsatz, Höchstbetrag des Versorgungsfreibetrags und Zuschlag zum Versorgungsfreibetrag gem. § 19 Absatz 2 EStG
Tabelle in neuem Fenster öffnen
Jahr des
Versorgungs beginns | J | Satz | Höchstbetrag | Zuschlag |
TAB1 | TAB2 | TAB3 | ||
bis 2005 | 1 | 0,400 | 3000 | 900 |
2006 | 2 | 0,384 | 2880 | 864 |
2007 | 3 | 0,368 | 2760 | 828 |
2008 | 4 | 0,352 | 2640 | 792 |
2009 | 5 | 0,336 | 2520 | 756 |
2010 | 6 | 0,320 | 2400 | 720 |
2011 | 7 | 0,304 | 2280 | 684 |
2012 | 8 | 0,288 | 2160 | 648 |
2013 | 9 | 0,272 | 2040 | 612 |
2014 | 10 | 0,256 | 1920 | 576 |
2015 | 11 | 0,240 | 1800 | 540 |
2016 | 12 | 0,224 | 1680 | 504 |
2017 | 13 | 0,208 | 1560 | 468 |
2018 | 14 | 0,192 | 1440 | 432 |
2019 | 15 | 0,176 | 1320 | 396 |
2020 | 16 | 0,160 | 1200 | 360 |
2021 | 17 | 0,152 | 1140 | 342 |
2022 | 18 | 0,144 | 1080 | 324 |
2023 | 19 | 0,136 | 1020 | 306 |
2024 | 20 | 0,128 | 960 | 288 |
2025 | 21 | 0,120 | 900 | 270 |
2026 | 22 | 0,112 | 840 | 252 |
2027 | 23 | 0,104 | 780 | 234 |
2028 | 24 | 0,096 | 720 | 216 |
2029 | 25 | 0,088 | 660 | 198 |
2030 | 26 | 0,080 | 600 | 180 |
2031 | 27 | 0,072 | 540 | 162 |
2032 | 28 | 0,064 | 480 | 144 |
2033 | 29 | 0,056 | 420 | 126 |
2034 | 30 | 0,048 | 360 | 108 |
2035 | 31 | 0,040 | 300 | 90 |
2036 | 32 | 0,032 | 240 | 72 |
2037 | 33 | 0,024 | 180 | 54 |
2038 | 34 | 0,016 | 120 | 36 |
2039 | 35 | 0,008 | 60 | 18 |
2040 | 36 | 0,000 | 0 | 0 |
Maßgebender Prozentsatz und Höchstbetrag des Altersentlastungsbetrags gem. § 24a EStG
Tabelle in neuem Fenster öffnen
Auf die
Vollendung des 64. Lebensjahres folgende Kalenderjahr | K | Satz | Höchstbetrag |
TAB4 | TAB5 | ||
bis 2005 | 1 | 0,400 | 1900 |
2006 | 2 | 0,384 | 1824 |
2007 | 3 | 0,368 | 1748 |
2008 | 4 | 0,352 | 1672 |
2009 | 5 | 0,336 | 1596 |
2010 | 6 | 0,320 | 1520 |
2011 | 7 | 0,304 | 1444 |
2012 | 8 | 0,288 | 1368 |
2013 | 9 | 0,272 | 1292 |
2014 | 10 | 0,256 | 1216 |
2015 | 11 | 0,240 | 1140 |
2016 | 12 | 0,224 | 1064 |
2017 | 13 | 0,208 | 988 |
2018 | 14 | 0,192 | 912 |
2019 | 15 | 0,176 | 836 |
2020 | 16 | 0,160 | 760 |
2021 | 17 | 0,152 | 722 |
2022 | 18 | 0,144 | 684 |
2023 | 19 | 0,136 | 646 |
2024 | 20 | 0,128 | 608 |
2025 | 21 | 0,120 | 570 |
2026 | 22 | 0,112 | 532 |
2027 | 23 | 0,104 | 494 |
2028 | 24 | 0,096 | 456 |
2029 | 25 | 0,088 | 418 |
2030 | 26 | 0,080 | 380 |
2031 | 27 | 0,072 | 342 |
2032 | 28 | 0,064 | 304 |
2033 | 29 | 0,056 | 266 |
2034 | 30 | 0,048 | 228 |
2035 | 31 | 0,040 | 190 |
2036 | 32 | 0,032 | 152 |
2037 | 33 | 0,024 | 114 |
2038 | 34 | 0,016 | 76 |
2039 | 35 | 0,008 | 38 |
2040 | 36 | 0,000 | 0 |















Tabelle in neuem Fenster öffnen
Jahresbruttolohn (in Euro) | Jahreslohnsteuer 2013 (in Euro) in
Steuerklasse [3] | |||||
I | II | III | IV | V | VI | |
5.000 | 0 | 0 | 0 | 0 | 436 | 581 |
7.500 | 0 | 0 | 0 | 0 | 727 | 872 |
10.000 | 0 | 0 | 0 | 0 | 1.018 | 1.163 |
12.500 | 204 | 5 | 0 | 204 | 1.308 | 1.721 |
15.000 | 585 | 336 | 0 | 585 | 2.158 | 2.593 |
17.500 | 1.094 | 790 | 0 | 1.094 | 3.115 | 3.540 |
20.000 | 1.679 | 1.354 | 0 | 1.679 | 4.020 | 4.384 |
22.500 | 2.247 | 1.923 | 242 | 2.247 | 4.788 | 5.152 |
25.000 | 2.820 | 2.485 | 584 | 2.820 | 5.552 | 5.934 |
27.500 | 3.414 | 3.069 | 1.024 | 3.414 | 6.356 | 6.762 |
30.000 | 4.029 | 3.673 | 1.514 | 4.029 | 7.206 | 7.628 |
32.500 | 4.665 | 4.299 | 2.056 | 4.665 | 8.094 | 8.529 |
35.000 | 5.322 | 4.946 | 2.582 | 5.322 | 8.996 | 9.431 |
37.500 | 6.000 | 5.614 | 3.112 | 6.000 | 9.898 | 10.333 |
40.000 | 6.700 | 6.304 | 3.654 | 6.700 | 10.800 | 11.235 |
42.500 | 7.420 | 7.015 | 4.204 | 7.420 | 11.702 | 12.137 |
45.000 | 8.162 | 7.746 | 4.766 | 8.162 | 12.604 | 13.039 |
47.500 | 8.933 | 8.507 | 5.346 | 8.933 | 13.516 | 13.951 |
50.000 | 9.802 | 9.363 | 5.992 | 9.802 | 14.514 | 14.949 |
52.500 | 10.697 | 10.246 | 6.650 | 10.697 | 15.512 | 15.948 |
55.000 | 11.618 | 11.153 | 7.324 | 11.618 | 16.511 | 16.946 |
57.500 | 12.564 | 12.087 | 8.008 | 12.564 | 17.510 | 17.945 |
60.000 | 13.536 | 13.046 | 8.706 | 13.536 | 18.508 | 18.943 |
62.500 | 14.531 | 14.032 | 9.416 | 14.531 | 19.506 | 19.941 |
65.000 | 15.530 | 15.030 | 10.140 | 15.530 | 20.505 | 20.940 |
67.500 | 16.528 | 16.028 | 10.876 | 16.528 | 21.503 | 21.938 |
70.000 | 17.535 | 17.035 | 11.632 | 17.535 | 22.510 | 22.945 |
Allgemeine Lohnsteuer ist die Lohnsteuer, die für einen Arbeitnehmer zu erheben ist, der in allen Sozialversicherungszweigen versichert ist.
Tabelle in neuem Fenster öffnen
Jahresbruttolohn (in Euro) | Jahreslohnsteuer 2013 (in Euro) in
Steuerklasse | |||||
I | II | III | IV | V | VI | |
5.000 | 0 | 0 | 0 | 0 | 470 | 616 |
7.500 | 0 | 0 | 0 | 0 | 778 | 924 |
10.000 | 0 | 0 | 0 | 0 | 1.086 | 1.232 |
12.500 | 309 | 95 | 0 | 309 | 1.544 | 1.979 |
15.000 | 740 | 473 | 0 | 740 | 2.468 | 2.903 |
17.500 | 1.303 | 986 | 0 | 1.303 | 3.476 | 3.848 |
20.000 | 1.929 | 1.598 | 78 | 1.929 | 4.366 | 4.722 |
22.500 | 2.583 | 2.237 | 420 | 2.583 | 5.236 | 5.610 |
25.000 | 3.267 | 2.906 | 804 | 3.267 | 6.156 | 6.554 |
27.500 | 3.979 | 3.603 | 1.296 | 3.979 | 7.136 | 7.558 |
30.000 | 4.719 | 4.328 | 1.844 | 4.719 | 8.169 | 8.604 |
32.500 | 5.488 | 5.082 | 2.444 | 5.488 | 9.219 | 9.654 |
35.000 | 6.286 | 5.865 | 3.058 | 6.286 | 10.269 | 10.704 |
37.500 | 7.112 | 6.676 | 3.688 | 7.112 | 11.319 | 11.754 |
40.000 | 7.967 | 7.516 | 4.332 | 7.967 | 12.369 | 12.804 |
42.500 | 8.850 | 8.384 | 4.990 | 8.850 | 13.419 | 13.854 |
45.000 | 9.762 | 9.281 | 5.662 | 9.762 | 14.469 | 14.904 |
47.500 | 10.703 | 10.207 | 6.348 | 10.703 | 15.519 | 15.954 |
50.000 | 11.672 | 11.161 | 7.050 | 11.672 | 16.569 | 17.004 |
52.500 | 12.670 | 12.144 | 7.764 | 12.670 | 17.619 | 18.054 |
55.000 | 13.696 | 13.155 | 8.494 | 13.696 | 18.669 | 19.104 |
57.500 | 14.744 | 14.195 | 9.238 | 14.744 | 19.719 | 20.154 |
60.000 | 15.794 | 15.245 | 9.996 | 15.794 | 20.769 | 21.204 |
62.500 | 16.844 | 16.295 | 10.768 | 16.844 | 21.819 | 22.254 |
65.000 | 17.894 | 17.345 | 11.556 | 17.894 | 22.869 | 23.304 |
67.500 | 18.944 | 18.395 | 12.356 | 18.944 | 23.919 | 24.354 |
70.000 | 19.994 | 19.445 | 13.172 | 19.994 | 24.969 | 25.404 |
Besondere Lohnsteuer ist die Lohnsteuer, die für einen Arbeitnehmer zu erheben ist, der in keinem Sozialversicherungszweig versichert und privat kranken- und pflegeversichert ist sowie dem Arbeitgeber keine Basiskranken- und Pflege-Pflichtversicherungsbeiträge mitgeteilt hat.
Anlage 2 Programmablaufplan für die Erstellung von Lohnsteuertabellen für 2013 zur manuellen Berechnung der Lohnsteuer (einschließlich der Berechnung des Solidaritätszuschlags und der Bemessungsgrundlage für die Kirchenlohnsteuer)
Tabelle in neuem Fenster öffnen
1. | Gesetzliche Grundlagen |
2. | Erläuterungen |
2.1 | Allgemeines |
2.2 | Verhältnis zur maschinellem Lohnsteuerberechnung |
2.3 | Freibeträge für
Versorgungsbezüge und Altersentlastungsbeträge |
2.4 | Vorsorgepauschale
|
2.5 | Feldlängen |
2.6 | Symbole |
3. | Schnittstellenkonventionen |
3.1 | Eingangsparameter |
3.2 | Ausgangsparameter |
4. | Interne Felder |
5. | Programmablaufplan |
1. Gesetzliche Grundlagen/Allgemeines
Der Programmablaufplan enthält gem. § 51 Absatz 4 Nummer 1a EStG die Berechnung für die Herstellung von Lohnsteuertabellen einschließlich der Berechnung des Solidaritätszuschlags und der Bemessungsgrundlage für die Kirchenlohnsteuer mit Lohnstufen.
Der Programmablaufplan berücksichtigt nicht Tarifsenkungen aufgrund des Gesetzes zum Abbau der kalten Progression. Das Gesetz befindet sich derzeit noch im Vermittlungsverfahren, nachdem der Bundesrat dem Gesetz nicht zugestimmt (s. Bundestags-Drs. 17/9644 vom ) und die Bundesregierung den Vermittlungsausschuss angerufen hat (s. Bundestags-Drs. 17/9672 vom ). Bei der Aufstellung wurde im Übrigen für 2013 davon ausgegangen, dass
in der gesetzlichen Krankenversicherung und sozialen Pflegeversicherung die Beitragsbemessungsgrenze 47.250 Euro (2012: 45.900 Euro) beträgt,
in der gesetzlichen Krankenversicherung der ermäßigte Beitragssatz (§ 243 SGB V) weiterhin 14,9 % beträgt,
in der sozialen Pflegeversicherung der bundeseinheitliche Beitragssatz 2,05 % (2012: 1,95 %) beträgt,
in der allgemeinen Rentenversicherung die allgemeine Beitragsbemessungsgrenze (BBG West) 69.600 Euro (2012: 67.200 Euro) und die Beitragsbemessungsgrenze Ost (BBG Ost) 58.800 Euro (2012: 57.600 Euro) beträgt,
in der allgemeinen Rentenversicherung der Beitragssatz 18,9 % (2012: 19,6 %) beträgt und
der Teilbetrag der Vorsorgepauschale für die Rentenversicherung um 4 Prozentpunkte auf 52 % steigt (§ 39b Absatz 4 EStG).
2. Erläuterungen
2.1 Allgemeines
Es sind tägliche, wöchentliche, monatliche und jährliche Lohnzahlungszeiträume berücksichtigt. Die Aufteilung von Jahresbeträgen auf unterjährige Lohnzahlungszeiträume wird entsprechend den in § 39b Absatz 2 Satz 9 EStG angegebenen Bruchteilen vorgenommen. Bruchteile eines Cent werden entsprechend den Angaben im Programmablaufplan auf ganze Cent aufgerundet bzw. bleiben außer Ansatz.
Hat ein Rechenergebnis oder ein zu übertragendes Feld Dezimalstellen, die im Empfangsfeld nicht vorgesehen sind und ist im Programmablaufplan nichts anderes angegeben, sind diese überschüssigen Dezimalstellen wegzulassen. Dies gilt jedoch nur für die im Programmablaufplan genannten Felder. Zwischenfelder, die durch die Programmierung oder die verwendete Programmiersprache notwendig werden, sind nicht zu runden.
2.2 Verhältnis zur maschinellen Lohnsteuerberechnung
Der „Programmablaufplan für die Erstellung von Lohnsteuertabellen für 2013 zur manuellen Berechnung der Lohnsteuer” ist an den „Programmablaufplan für die maschinelle Berechnung der vom Arbeitslohn einzubehaltenden Lohnsteuer, des Solidaritätszuschlags und der Maßstabsteuer für die Kirchenlohnsteuer für 2013” angelehnt. So sind Felder und Unterprogramme häufig identisch.
2.3 Freibeträge für Versorgungsbezüge und Altersentlastungsbetrag
Werden Versorgungsbezüge als laufender Arbeitslohn gezahlt, bleibt höchstens der auf den jeweiligen Lohnzahlungszeitraum entfallende Anteil der Freibeträge für Versorgungsbezüge (§ 19 Absatz 2 EStG) steuerfrei. Dieser Anteil ist wie folgt zu ermitteln: Bei monatlicher Lohnzahlung sind die Jahresbeträge mit einem Zwölftel, bei wöchentlicher Lohnzahlung die Monatsbeträge mit 7/30 und bei täglicher Lohnzahlung die Monatsbeträge mit 1/30 anzusetzen. Dabei darf der sich hiernach insgesamt ergebende Monatsbetrag auf den nächsten vollen Euro-Betrag, der Wochenbetrag auf den nächsten durch zehn teilbaren Centbetrag und der Tagesbetrag auf den nächsten durch fünf teilbaren Centbetrag aufgerundet werden. Der dem Lohnzahlungszeitraum entsprechende anteilige Höchstbetrag darf auch dann nicht überschritten werden, wenn in früheren Lohnzahlungszeiträumen desselben Kalenderjahres wegen der damaligen Höhe der Versorgungsbezüge ein niedrigerer Betrag als der Höchstbetrag berücksichtigt worden ist. Eine Verrechnung des in einem Monat nicht ausgeschöpften Höchstbetrags mit den den Höchstbetrag übersteigenden Beträgen eines anderen Monats ist nicht zulässig. Die vorstehenden Regelungen geltend nicht in den Fällen des permanenten Lohnsteuer-Jahresausgleiches nach § 39b Absatz 2 Satz 12 EStG i. V. m. R 39b.8 LStR. Der Zuschlag zum Versorgungsfreibetrag ist in der Steuerklasse VI nicht zu berücksichtigen (§ 39b Absatz 2 Satz 5 Nummer 1 EStG).
Die vorstehende Regelung gilt für die Berücksichtigung des Altersentlastungsbetrags entsprechend.
2.4 Vorsorgepauschale
Aus Vereinfachungsgründen wird bei der Erstellung der Lohnsteuertabellen – bezogen auf die Berücksichtigung der Vorsorgepauschale – der Beitragszuschlag für Kinderlose (§ 55 Absatz 3 SGB XI) in keinem Fall berücksichtigt.
Werden vom privat versicherten Arbeitnehmer Basiskranken- und Pflege-Pflichtversicherungsbeiträge nachgewiesen, ist die Lohnsteuer in einer Nebenrechnung zu ermitteln. Dabei werden die nachgewiesenen Beiträge des Arbeitnehmers um die nach den Lohnsteuertabellen für den tatsächlichen (Brutto-)Jahresarbeitslohn berücksichtigten Teilbeträge der Vorsorgepauschale gemindert. Von dem verbleibenden Betrag ist der typisierte Arbeitgeberzuschuss zur Kranken- und Pflegeversicherung abzuziehen, wenn der Arbeitgeber verpflichtet ist, einen Zuschuss zur Kranken- und Pflegeversicherung zu zahlen. Der so ermittelte Wert ist von dem maßgeblichen Bruttoarbeitslohn abzuziehen. Die Lohnsteuer ist für den geminderten Bruttoarbeitslohn in der Tabelle abzulesen. Für diese Nebenrechnung weisen die Tabellen für privat versicherte Arbeitnehmer den typisierten Arbeitgeberzuschuss und die Teilbeträge der Vorsorgepauschale für die Kranken- und Pflegeversicherung (ggf. die Mindestvorsorgepauschale) aus.
Ein Arbeitnehmer in der Steuerklasse III (keine Kinder, Beitragsbemessungsgrenze West) erhält einen Bruttojahresarbeitslohn von 50.000 Euro. Er ist in der gesetzlichen Rentenversicherung pflichtversichert und privat kranken- und pflegeversichert. Seine nachgewiesenen Basiskranken- und Pflege-Pflichtversicherungsbeiträge betragen 9.600 Euro im Jahr. Dazu erhält er einen Zuschuss von seinem Arbeitgeber.
Die Lohnsteuer nach der allgemeinen Lohnsteuertabelle beträgt 6.024 Euro im Jahr; dabei ist durch die Berücksichtigung der Vorsorgepauschale ein Aufwand für gesetzliche Kranken- und soziale Pflegeversicherung von 4.217 Euro berücksichtigt; der typisierte Arbeitgeberzuschuss beträgt in 2013 3.791 Euro. Um die nachgewiesenen Basiskranken- und Pflege-Pflichtversicherungsbeiträge zu berücksichtigen, sind in einer Nebenrechnung diese Beiträge um den nach der allgemeinen Lohnsteuertabelle berücksichtigte Aufwand für die gesetzliche Kranken- und soziale Pflegeversicherung und den typisierten Arbeitgeberzuschuss zu mindern. Es verbleiben (9.600 Euro – 4.217 Euro – 3.791 Euro =) 1.592 Euro, die den Bruttojahresarbeitslohn mindern. In diesem Fall ist die Lohnsteuer bei einem Bruttojahresarbeitslohn von (50.000 Euro – 1.592 Euro =) 48.408 Euro abzulesen. Die Lohnsteuer beträgt in der Steuerklasse III 5.614 Euro.
Ein Beamter in der Steuerklasse I ohne Kinder erhält einen Jahresarbeitslohn von 15.000 Euro. Seine nachgewiesenen Basiskranken- und Pflege-Pflichtversicherungsbeiträge betragen 2.400 Euro im Jahr. Er erhält keinen Zuschuss von seinem Arbeitgeber.
Die Lohnsteuer nach der besonderen Lohnsteuertabelle beträgt 742 Euro im Jahr; dabei ist durch die Berücksichtigung der Mindestvorsorgepauschale bereits ein Aufwand von 1.801 Euro berücksichtigt. Um die nachgewiesenen Basiskranken- und Pflege-Pflichtversicherungsbeiträge zu berücksichtigen, sind in einer Nebenrechnung diese Beiträge um die nach der besonderen Lohnsteuertabelle berücksichtigte Mindestvorsorgepauschale zu mindern. Es verbleiben (2.400 Euro – 1.801 Euro =) 599 Euro, die den Jahresarbeitslohn mindern. In diesem Fall ist die Lohnsteuer bei einem Jahresarbeitslohn von (15.000 Euro – 599 Euro =) 14.401 Euro abzulesen. Die Lohnsteuer beträgt in der Steuerklasse I 635 Euro.
Für Fälle, in denen die Lohnsteuertabellen keine Möglichkeit zur Berechnung anbieten, wird auf der Internetseite www.bmf-steuerrechner.de eine maschinelle Berechnung der Lohnsteuer durch das Bundesministerium der Finanzen angeboten.
2.5 Feldlängen
Das Format und die Länge der Parameter und internen Felder sind bei der Programmierung (Codierung) zu bestimmen, soweit sie sich nicht unmittelbar aus den Erläuterungen oder dem Programmablaufplan ergeben.
Feldbeschreibungen ohne Stellenangaben beziehen sich auf Ganzzahlen, ansonsten sind die Nachkommastellen angegeben. Bei der Steuerberechnung werden Gleitkommafelder verwendet.
2.6 Symbole
Die im Programmablaufplan verwendeten Sinnbilder entsprechen der Zeichenschablone nach DIN 66001.
Darüber hinaus bedeuten:
Tabelle in neuem Fenster öffnen
↓ | = Wert nach unten abrunden
(z. B. Euro ↓ = auf volle Euro abrunden) |
↑ | = Wert nach oben aufrunden
(z. B. Cent ↑ = auf volle Cent aufrunden) |
→ | = „übertragen
nach” (Zuweisung) |
3. Schnittstellenkonventionen
3.1 Eingangsparameter
Die Plausibilität der Parameter wird im Programm nicht geprüft. Sie müssen daher in Vorprogrammen des Arbeitgebers abgesichert werden. Es kommen z. B. in Betracht:
Vorzeichenprüfung,
Prüfung auf gültigen Inhalt (z. B. Wert in LZZ nur 1, 2, 3 oder 4)
Es werden folgende Eingangsparameter benötigt:
Tabelle in neuem Fenster öffnen
Name | Bedeutung |
KRV | 0 = der
Arbeitnehmer ist in der gesetzlichen Rentenversicherung oder einer
berufsständischen Versorgungseinrichtung pflichtversichert oder, bei Befreiung
von der Versicherungspflicht freiwillig versichert; es gilt die allgemeine
Beitragsbemessungsgrenze (BBG West) |
1 = der
Arbeitnehmer ist in der gesetzlichen Rentenversicherung oder einer
berufsständischen Versorgungseinrichtung pflichtversichert oder, bei Befreiung
von der Versicherungspflicht freiwillig versichert; es gilt die
Beitragsbemessungsgrenze Ost (BBG Ost) | |
2 = wenn
nicht 0 oder 1 | |
LZZ | Lohnzahlungszeitraum: |
1 = Jahr | |
2 = Monat | |
3 = Woche | |
4 = Tag | |
PVS | 0 = Pflegeversicherung außerhalb Sachsens |
1 = Pflegeversicherung in Sachsen | |
PKV | 0 = gesetzlich krankenversicherte Arbeitnehmer |
1 = privat
krankenversicherte Arbeitnehmer |
3.2 Ausgangsparameter
Als Ergebnis stellt das Programm folgende Ausgangsparameter zur Verfügung:
Tabelle in neuem Fenster öffnen
Name | Bedeutung |
BK | Bemessungsgrundlage
für die Kirchenlohnsteuer in Cent |
LSTBZU | Lohnsteuer im
Lohnzahlungszeitraum in Cent |
LZALOG | Obergrenze der
Tabellenstufe in der Lohnsteuertabelle für den Lohnzahlungszeitraum in
Cent |
LZALUG | Untergrenze der
Tabellenstufe in der Lohnsteuertabelle für den Lohnzahlungszeitraum in
Cent |
SOLZLZZ | Für den
Lohnzahlungszeitraum einzubehaltender Solidaritätszuschlag in Cent |
BVSP | Im Rahmen der
Lohnsteuerberechnung im Lohnzahlungszeitraum berücksichtigter Teil der
Vorsorgepauschale für Kranken- und Pflegeversicherungsaufwendungen in Cent |
TAGZ | Typisierter
Arbeitgeberzuschuss zur Kranken- und Pflegeversicherung für den
Lohnzahlungszeitraum in Cent |
4. Interne Felder
Das Programm verwendet intern folgende Felder. Sollen solche Felder im Umfeld des Programms verwendet werden, können sie als Ausgangsparameter behandelt werden, soweit sie nicht während des Programmdurchlaufs noch verändert wurden. Die internen Felder müssen vor Aufruf des Programms gelöscht werden:
Tabelle in neuem Fenster öffnen
Name | Bedeutung |
ANP | Arbeitnehmer-Pauschbetrag in Euro |
ANTEIL1 | Auf den
Lohnzahlungszeitraum entfallender Anteil von Jahreswerten auf ganze Cent
abgerundet |
DIFF | Differenz zwischen ST1
und ST2 in Euro |
EFA | Entlastungsbetrag für
Alleinerziehende in Euro |
JBMG | Jahressteuer nach
§ 51a EStG,
aus der Solidaritätszuschlag und Bemessungsgrundlage für die Kirchenlohnsteuer
ermittelt werden in Euro |
JW | Jahreswert, dessen
Anteil für einen Lohnzahlungszeitraum in UPANTEIL errechnet werden soll in
Cent |
KFB | Summe der Freibeträge
für Kinder in Euro |
KVSATZAG | Beitragssatz des
Arbeitgebers zur gesetzlichen Krankenversicherung (5 Dezimalstellen) |
KVSATZAN | Beitragssatz des
Arbeitnehmers zur gesetzlichen Krankenversicherung (5 Dezimalstellen) |
KZTAB | Kennzahl für die
Einkommensteuer-Tarifarten: |
1 = Grundtarif | |
2 = Splittingtarif | |
LSTJAHR | Jahreslohnsteuer in
Euro |
MIST | Mindeststeuer für die
Steuerklassen V und VI in Euro |
PVSATZAG | Beitragssatz des
Arbeitgebers zur sozialen Pflegeversicherung (5 Dezimalstellen) |
PVSATZAN | Beitragssatz des
Arbeitnehmers zur sozialen Pflegeversicherung (5 Dezimalstellen) |
RW | Rechenwert in
Gleitkommadarstellung |
SAP | Sonderausgaben-Pauschbetrag in Euro |
SOLZFREI | Freigrenze für den
Solidaritätszuschlag in Euro |
SOLZJ | Solidaritätszuschlag auf
die Jahreslohnsteuer in Euro, Cent (2 Dezimalstellen) |
SOLZMIN | Zwischenwert für den
Solidaritätszuschlag auf die Jahreslohnsteuer in Euro, Cent (2
Dezimalstellen) |
ST | Tarifliche
Einkommensteuer in Euro |
STKL | Steuerklasse: |
1 = I | |
2 = II | |
3 = III | |
4 = IV | |
5 = V | |
6 = VI | |
ST1 | Tarifliche
Einkommensteuer auf das 1,25-fache ZX in Euro |
ST2 | Tarifliche
Einkommensteuer auf das 0,75-fache ZX in Euro |
VHB | Höchstbetrag der
Mindestvorsorgepauschale für die Kranken- und Pflege-Pflichtversicherung in
Euro, Cent (2 Dezimalstellen) |
VSP | Vorsorgepauschale mit
Teilbeträgen für die Rentenversicherung sowie die gesetzliche Kranken- und
soziale Pflegeversicherung nach fiktiven Beträgen oder ggf. für die private
Krankenversicherung in Euro, Cent (2 Dezimalstellen) |
VSPN | Vorsorgepauschale mit
Teilbeträgen für die Rentenversicherung sowie der Mindestvorsorgepauschale für
die Kranken- und Pflege-Pflichtversicherung in Euro, Cent (2
Dezimalstellen) |
VSP1 | Zwischenwert 1 bei der
Berechnung der Vorsorgepauschale in Euro, Cent (2 Dezimalstellen) |
VSP2 | Zwischenwert 2 bei der
Berechnung der Vorsorgepauschale in Euro, Cent (2 Dezimalstellen) |
X | Zu versteuerndes
Einkommen gem. § 32a
Absatz 1 und
2 EStG in Euro,
Cent (2 Dezimalstellen) |
Y | Gem.
§ 32a
Absatz 1 EStG (6 Dezimalstellen) |
ZKF | Zahl der Freibeträge für
Kinder (eine Dezimalstelle, nur bei Steuerklassen I, II, III und IV) |
ZRE4 | Steuerpflichtiger
Arbeitslohn in Euro, Cent (2 Dezimalstellen) |
ZRE4O | Maßgeblicher
steuerpflichtiger Arbeitslohn in Euro, Cent (2 Dezimalstellen) |
ZRE4VP | Auf einen Jahreslohn
hochgerechnetes ZRE4O zur Berechnung der Vorsorgepauschale in Euro, Cent (2
Dezimalstellen) |
ZTABFB | Feste
Tabellenfreibeträge (ohne Vorsorgepauschale) in Euro |
ZVE | Zu versteuerndes
Einkommen in Euro |
ZX, ZZX, HOCH,
VERGL | Zwischenfelder zu X für
die Berechnung der Steuer nach
§ 39b Absatz 2
Satz 7 EStG in Euro. |
5. Programmablaufplan











Tabelle in neuem Fenster öffnen
Jahresbruttolohn (in Euro, Cent) | Tabellenstufe | Jahreslohnsteuer 2013 (in Euro) in
Steuerklasse | ||||||
von …
Euro | bis …
Euro | I | II | III | IV | V | VI | |
5.000 | 4.968,00 | 5.003,99 | 0 | 0 | 0 | 0 | 436 | 581 |
7.500 | 7.488,00 | 7.523,99 | 0 | 0 | 0 | 0 | 729 | 875 |
10.000 | 9.972,00 | 10.007,99 | 0 | 0 | 0 | 0 | 1.018 | 1.163 |
12.500 | 12.492,00 | 12.527,99 | 208 | 8 | 0 | 208 | 1.312 | 1.731 |
15.000 | 14.976,00 | 15.011,99 | 587 | 338 | 0 | 587 | 2.162 | 2.597 |
17.500 | 17.496,00 | 17.531,99 | 1.101 | 797 | 0 | 1.101 | 3.127 | 3.550 |
20.000 | 19.980,00 | 20.015,99 | 1.683 | 1.357 | 0 | 1.683 | 4.026 | 4.388 |
22.500 | 22.500,00 | 22.535,99 | 2.270 | 1.931 | 246 | 2.270 | 4.820 | 5.182 |
25.000 | 24.984,00 | 25.019,99 | 2.841 | 2.490 | 588 | 2.841 | 5.582 | 5.964 |
27.500 | 27.468,00 | 27.503,99 | 3.434 | 3.069 | 1.024 | 3.434 | 6.384 | 6.790 |
30.000 | 29.988,00 | 30.023,99 | 4.056 | 3.679 | 1.518 | 4.056 | 7.242 | 7.666 |
32.500 | 32.472,00 | 32.507,99 | 4.691 | 4.301 | 2.058 | 4.691 | 8.131 | 8.566 |
35.000 | 34.992,00 | 35.027,99 | 5.357 | 4.953 | 2.608 | 5.357 | 9.042 | 9.477 |
37.500 | 37.476,00 | 37.511,99 | 6.033 | 5.617 | 3.138 | 6.033 | 9.941 | 10.376 |
40.000 | 39.996,00 | 40.031,99 | 6.741 | 6.312 | 3.686 | 6.741 | 10.853 | 11.288 |
42.500 | 42.480,00 | 42.515,99 | 7.461 | 7.019 | 4.236 | 7.461 | 11.752 | 12.187 |
45.000 | 45.000,00 | 45.035,99 | 8.212 | 7.757 | 4.804 | 8.212 | 12.664 | 13.099 |
47.500 | 47.484,00 | 47.519,99 | 8.982 | 8.514 | 5.382 | 8.982 | 13.573 | 14.008 |
50.000 | 49.968,00 | 50.003,99 | 9.847 | 9.365 | 6.024 | 9.847 | 14.565 | 15.000 |
52.500 | 52.488,00 | 52.523,99 | 10.750 | 10.254 | 6.690 | 10.750 | 15.571 | 16.006 |
55.000 | 54.972,00 | 55.007,99 | 11.666 | 11.156 | 7.358 | 11.666 | 16.563 | 16.998 |
57.500 | 57.492,00 | 57.527,99 | 12.622 | 12.097 | 8.050 | 12.622 | 17.570 | 18.005 |
60.000 | 59.976,00 | 60.011,99 | 13.590 | 13.051 | 8.744 | 13.590 | 18.562 | 18.997 |
62.500 | 62.496,00 | 62.531,99 | 14.594 | 14.044 | 9.460 | 14.594 | 19.568 | 20.004 |
65.000 | 64.980,00 | 65.015,99 | 15.586 | 15.036 | 10.180 | 15.586 | 20.560 | 20.996 |
67.500 | 67.500,00 | 67.535,99 | 16.592 | 16.043 | 10.924 | 16.592 | 21.567 | 22.002 |
70.000 | 69.984,00 | 70.019,99 | 17.592 | 17.043 | 11.676 | 17.592 | 22.567 | 23.002 |
Allgemeine Lohnsteuer ist die Lohnsteuer, die für einen Arbeitnehmer zu erheben ist, der in allen Sozialversicherungszweigen versichert ist.
Tabelle in neuem Fenster öffnen
Jahresbruttolohn (in Euro, Cent) | Tabellenstufe | Jahreslohnsteuer 2013 (in Euro) in
Steuerklasse | ||||||
von
… Euro | bis
… Euro | I | II | III | IV | V | VI | |
5.000 | 4.968,00 | 5.003,99 | 0 | 0 | 0 | 0 | 471 | 616 |
7.500 | 7.488,00 | 7.523,99 | 0 | 0 | 0 | 0 | 781 | 926 |
10.000 | 9.972,00 | 10.007,99 | 0 | 0 | 0 | 0 | 1.087 | 1.232 |
12.500 | 12.492,00 | 12.527,99 | 313 | 98 | 0 | 313 | 1.554 | 1.989 |
15.000 | 14.976,00 | 15.011,99 | 742 | 475 | 0 | 742 | 2.472 | 2.907 |
17.500 | 17.496,00 | 17.531,99 | 1.310 | 994 | 0 | 1.310 | 3.488 | 3.862 |
20.000 | 19.980,00 | 20.015,99 | 1.933 | 1.601 | 80 | 1.933 | 4.370 | 4.726 |
22.500 | 22.500,00 | 22.535,99 | 2.593 | 2.247 | 424 | 2.593 | 5.248 | 5.622 |
25.000 | 24.984,00 | 25.019,99 | 3.272 | 2.911 | 808 | 3.272 | 6.164 | 6.564 |
27.500 | 27.468,00 | 27.503,99 | 3.979 | 3.603 | 1.296 | 3.979 | 7.136 | 7.558 |
30.000 | 29.988,00 | 30.023,99 | 4.726 | 4.335 | 1.850 | 4.726 | 8.179 | 8.614 |
32.500 | 32.472,00 | 32.507,99 | 5.490 | 5.084 | 2.444 | 5.490 | 9.222 | 9.657 |
35.000 | 34.992,00 | 35.027,99 | 6.294 | 5.873 | 3.066 | 6.294 | 10.281 | 10.716 |
37.500 | 37.476,00 | 37.511,99 | 7.116 | 6.680 | 3.690 | 7.116 | 11.324 | 11.759 |
40.000 | 39.996,00 | 40.031,99 | 7.977 | 7.526 | 4.340 | 7.977 | 12.382 | 12.817 |
42.500 | 42.480,00 | 42.515,99 | 8.855 | 8.390 | 4.994 | 8.855 | 13.425 | 13.861 |
45.000 | 45.000,00 | 45.035,99 | 9.775 | 9.294 | 5.672 | 9.775 | 14.484 | 14.919 |
47.500 | 47.484,00 | 47.519,99 | 10.710 | 10.214 | 6.354 | 10.710 | 15.527 | 15.962 |
50.000 | 49.968,00 | 50.003,99 | 11.673 | 11.162 | 7.050 | 11.673 | 16.570 | 17.006 |
52.500 | 52.488,00 | 52.523,99 | 12.679 | 12.153 | 7.772 | 12.679 | 17.629 | 18.064 |
55.000 | 54.972,00 | 55.007,99 | 13.699 | 13.158 | 8.496 | 13.699 | 18.672 | 19.107 |
57.500 | 57.492,00 | 57.527,99 | 14.756 | 14.206 | 9.246 | 14.756 | 19.731 | 20.166 |
60.000 | 59.976,00 | 60.011,99 | 15.799 | 15.250 | 10.000 | 15.799 | 20.774 | 21.209 |
62.500 | 62.496,00 | 62.531,99 | 16.857 | 16.308 | 10.778 | 16.857 | 21.832 | 22.267 |
65.000 | 64.980,00 | 65.015,99 | 17.901 | 17.351 | 11.560 | 17.901 | 22.875 | 23.311 |
67.500 | 67.500,00 | 67.535,99 | 18.959 | 18.410 | 12.368 | 18.959 | 23.934 | 24.369 |
70.000 | 69.984,00 | 70.019,99 | 20.002 | 19.453 | 13.178 | 20.002 | 24.977 | 25.412 |
Besondere Lohnsteuer ist die Lohnsteuer, die für einen Arbeitnehmer zu erheben ist, der in keinem Sozialversicherungszweig versichert und privat kranken- und pflegeversichert ist sowie dem Arbeitgeber keine Basiskranken- und Pflege-Pflichtversicherungsbeiträge mitgeteilt hat.
BMF v. - IV C 5 –
S 2361/12/10001
Auf diese Anweisung wird Bezug genommen in folgenden Verwaltungsanweisungen:
Fundstelle(n):
BStBl 2012 I Seite 1125
BB 2012 S. 3042 Nr. 49
StBW 2013 S. 12 Nr. 1
NAAAE-23479
1Berechnet für die Beitragsbemessungsgrenzen West
2Berechnet mit den Merkern KRV und PKV = 0
3In der Steuerklasse II gilt PVZ = 0, in den anderen Steuerklassen gilt PVZ = 1
4Berechnet mit den Merkern KRV = 2 und PKV = 1; PKPV = 0
5Berechnet für die Beitragsbemessungsgrenzen West
6Berechnet mit den Merkern KRV und PKV = 0
7Berechnet mit den Merkern KRV = 2 und PKV = 1